k-part
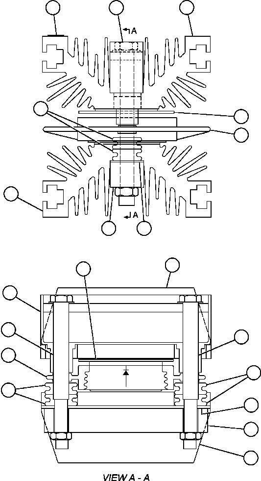
Номер на схеме Каталожный номер Название Количество Детали
? VE4327 SINK, HEAT 2
? VE5038 BAR, SUPPORT 1
? VE5037 SHIELD, GLASTIC 1
? VE5036 GROMMET 4
? VE5039 TUBE 2
? VE5035 CLAMP 1
? VE4328 RING, MOLDED 1
? XA2058 DIODE 1
? VE5040 LABEL 2

Dump Trucks Komatsu / AFE47-DQ 730E S/N A30400-A30401             Komatsu Australia(AFE47-DQ) / DIODE/HEAT SINK ASSEMBLY (GE0558)(524 : 64044)
?
?
?
?
?
?
?
?
?
?
?
?
?
?
?
?
?
?
?
?