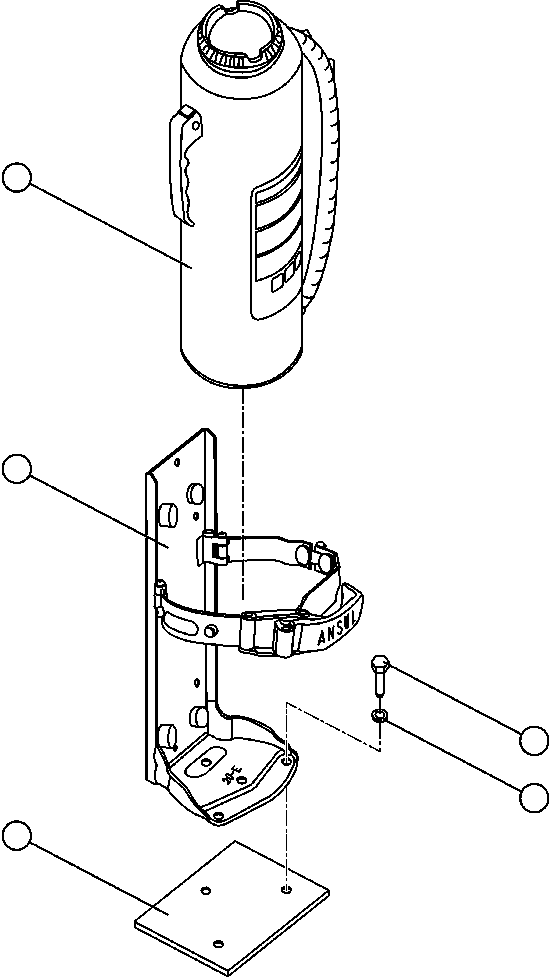
Найти k-part Содержание Dump Trucks Komatsu AFE47-DQ 730E S/N A30400-A30401 Komatsu Australia(AFE47-DQ) FIRE EXTINGUISHER(424 : 41823) Номер на схеме Каталожный номер Название Количество Детали ? PB2849 EXTINGUISHER, FIRE 2 ? PB2850 BRACKET, FENDER 2 ? VW6804 PAD, TAPPED 1 ? H8524 CAPSCREW - 3/8" - 16NC X 5/8" 6 ? C0312 LOCKWASHER - 3/8" 6 ? ? ? ? ?