| Номер на схеме | Каталожный номер | Название | Количество | Детали | |||
|---|---|---|---|---|---|---|---|
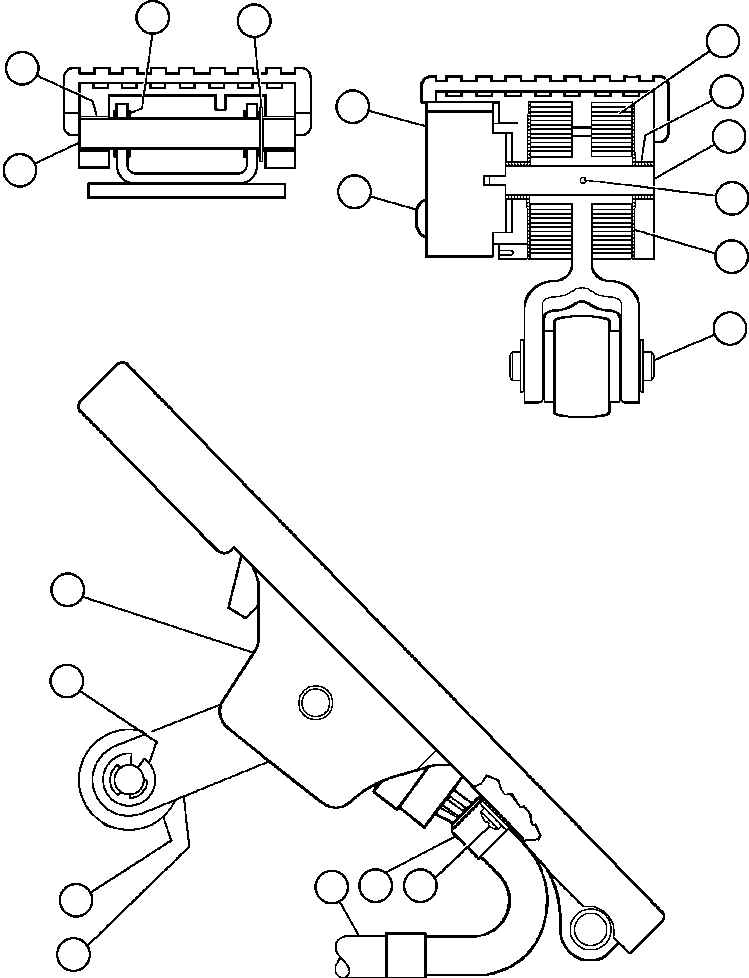
| ? | XA3289 | PEDAL | 1 | ||||
| ? | VJ4023 | RING, RETAINER (1)/(2)/(4) | 3 | ||||
| ? | XA0174 | ROLLER | 1 | ||||
| ? | BF1494 | LEVER, TREADLE (4) | 1 | ||||
| ? | VE7636 | HARNESS, WIRE (3)/(4) | 1 | ||||
| ? | VE7634 | CLAMP, WIRE (4) | 2 | ||||
| ? | VE4213 | SCREW, PAN HEAD (3)/(4) | 2 | ||||
| ? | XA0175 | PIN, ROLLER | 1 | ||||
| ? | XA0176 | MACHINE SCREW | 2 | ||||
| ? | XA3290 | PIN, TREADLE | 1 | ||||
| ? | XA3291 | BUSHING | 2 | ||||
| ? | VE3510 | BUSHING (1)/(4) | 2 | ||||
| ? | SENSOR (4)/(5) | 1 | |||||
| ? | VE7551 | PIN (4) | 1 | ||||
| ? | VE7556 | WASHER, THRUST - OUTER (4) | 2 | ||||
| ? | SPRING (4)/(5) | 2 | |||||
| ? | BF1492 | DRIVE SHAFT, POTENTIOMETER (4) | 1 | ||||
| ? | VE7557 | BUSHING (4) | 2 | ||||
| ? | VE7549 | NOTE: (1) INCLUDED IN VE7549 TREADLE PIN KIT. | |||||
| ? | VE7561 | (2) INCLUDED IN VE7561 ROLLER KIT. | |||||
| ? | BF1497 | (3) INCLUDED IN BF1497 SENSOR KIT. | |||||
| ? | BF1498 | (4) INCLUDED IN BF1498 UPPER SERVICE ASSEMBLY KIT. | |||||
| ? | (5) NOT SERVICED SEPARATELY. |