k-part
Номер на схеме Каталожный номер Название Количество Детали
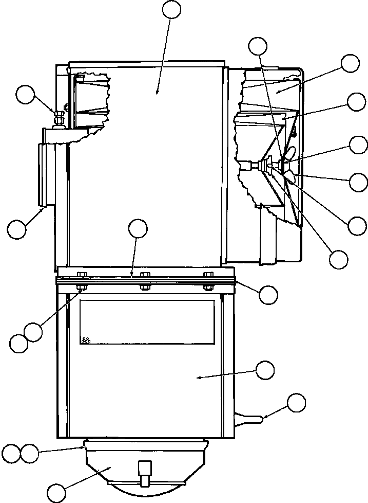
? VS2184 BODY, UPPER 1
? VS2185 ELEMENT, SAFETY 2
? VS1351 GASKET (1) 2
? VS1349 PIN 2
? VS6704 NUT, INDICATOR 2
? VE0779 ELEMENT, PRIMARY 2
? VS2187 NUT, WING 2
? VS2188 CLIP (1) 2
? VJ4028 BODY, LOWER 1
? VP0359 CLAMP 3
? VS2190 O-RING (1) 3
? VE0175 CUP ASSEMBLY 3
? PB6091 VACUATOR VALVE CUP ASSEMBLY (2) 3
? VS2193 GASKET (1) 2
? VS2194 GASKET (1) 2
? VS2195 CAPSCREW 22
? VS2196 NUT 22
? VJ2315 CAPSCREW 1
? VJ2316 FLANGE 2
? VJ6590 ADAPTER, RESTRICTOR 2
? NOTE: NS = NOT SHOWN
? PC0389 RESTRICTOR, AIR CLEANER (INSTR. PANEL MOUNTED) 2
? VJ2314 CAP 2
? RK1878 NOTE: (1) INCLUDED IN RK1878 GASKET KIT.
? (2) NOT INCLUDED IN ASSEMBLY. OPTIONAL EQUIPMENT.

Dump Trucks Komatsu / AFE47-DE 730E S/N A30367-A30369  PEABODY COAL - BLACK BEAUTY(AFE47-DE) / AIR CLEANER ASSEMBLY (PB2433)(044 : 35081)
?
?
?
?
?
?
?
?
?
?
?
?
?
?
?
?
?
?
?