|
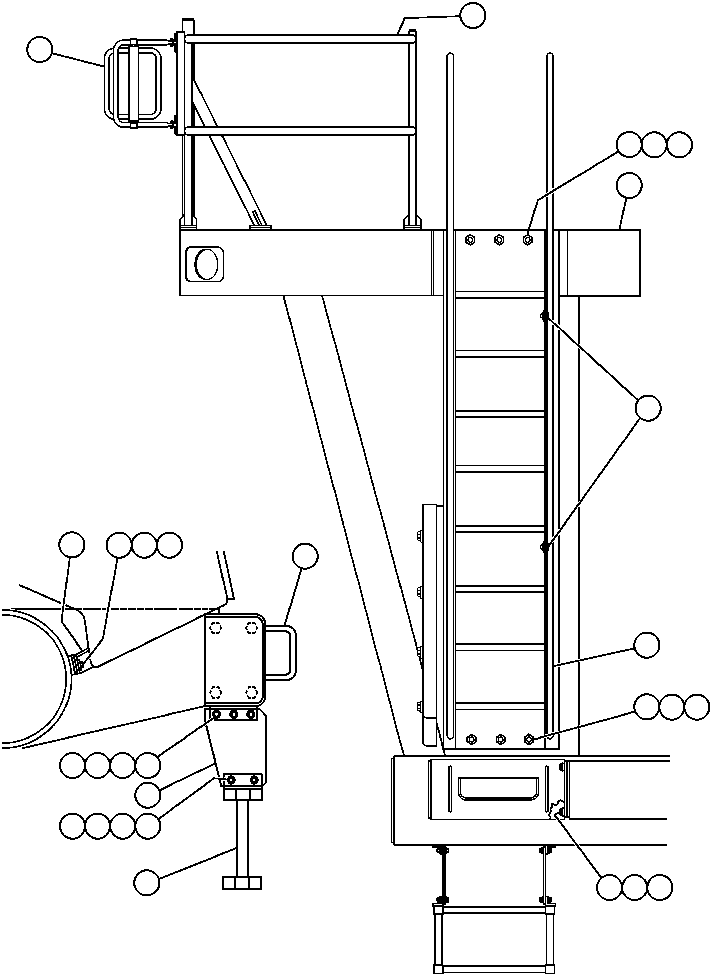
Номер на схеме |
Каталожный номер |
Название |
Количество |
Детали |
|
|
|
? |
EC6906 |
• HANDRAIL - RIGHT FRONT |
1 |
|
|
|
|
? |
C1612 |
• • CAPSCREW - 1/2" - 13NC X 1" |
3 |
|
|
|
|
? |
C1540 |
• • LOCKWASHER - 1/2" |
3 |
|
|
|
|
? |
DD5640 |
• • FLAT WASHER - 1/2" |
3 |
|
|
|
|
? |
TZ2413 |
• • LIGHT, LADDER (SEE INDEX) |
3 |
|
|
|
|
? |
EC8145 |
• • LADDER |
1 |
|
|
|
|
? |
PB7491 |
• • CONVEX MIRROR ASSM (SEE FIG 40241) |
1 |
|
|
|
|
? |
C1603 |
• • CAPSCREW - 3/8" - 14NC X 1 1/4" |
10 |
|
|
|
|
? |
C0312 |
• • LOCKWASHER - 3/8" |
10 |
|
|
|
|
? |
EC7230 |
• • WASHER |
2 |
|
|
|
|
? |
EC6554 |
• • STRAP, MOUNTING |
2 |
|
|
|
|
? |
EC6553 |
• • STEP |
1 |
|
|
|
|
? |
EC8211 |
• • EXTENSION, BUMPER R.H. |
1 |
|
|
|
|
? |
EB2102 |
• • WASHER |
2 |
|
|
|
|
? |
C1521 |
• • NUT - 3/8" - 14NC |
10 |
|
|
|
|
? |
EC7645 |
• • ADAPTOR, LADDER |
1 |
|
|
|
|
? |
TV1748 |
• • CAPSCREW - 5/8" - 11NC X 1 1/2" |
4 |
|
|
|
|
? |
WA0361 |
• • FLAT WASHER - 5/8" |
4 |
|
|
|
|
? |
VC1390 |
• • LOCKWASHER - 5/8" |
4 |
|
|
|
|
? |
EC7648 |
• • SUPPORT, LADDER |
1 |
|
|
|