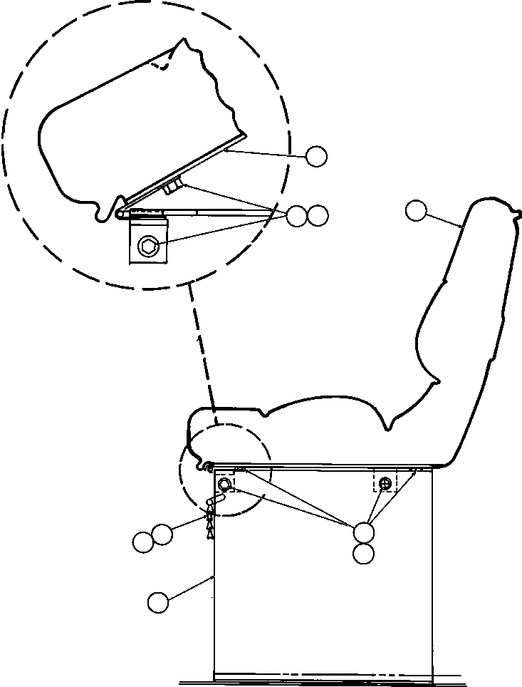
Найти k-part Содержание Dump Trucks Komatsu AFE32-CE 830E S/N 32326-32328 WESTERN COLLERIES(AFE32-CE) PASSENGER SEAT INSTL(150 : 14500) Номер на схеме Каталожный номер Название Количество Детали ? PB6925 SEAT, PASSENGER 1 ? TD0794 CAPSCREW - 5/16" - 18NC X 3/4" 8 ? SC4174 LOCKWASHER - 5/16" 8 ? PEDESTAL, SEAT 1 ? TN3978 CHAIN 1 ? WA3217 HOOK - COLD SHUT 2 ? TX6346 PIVOT, SEAT MOUNTING 1 ? 488057 BELT, SEAT 1 ? NOTE: NS = NOT SHOWN ? ? ? ? ? ? ? ? ?