| Номер на схеме | Каталожный номер | Название | Количество | Детали | |||
|---|---|---|---|---|---|---|---|
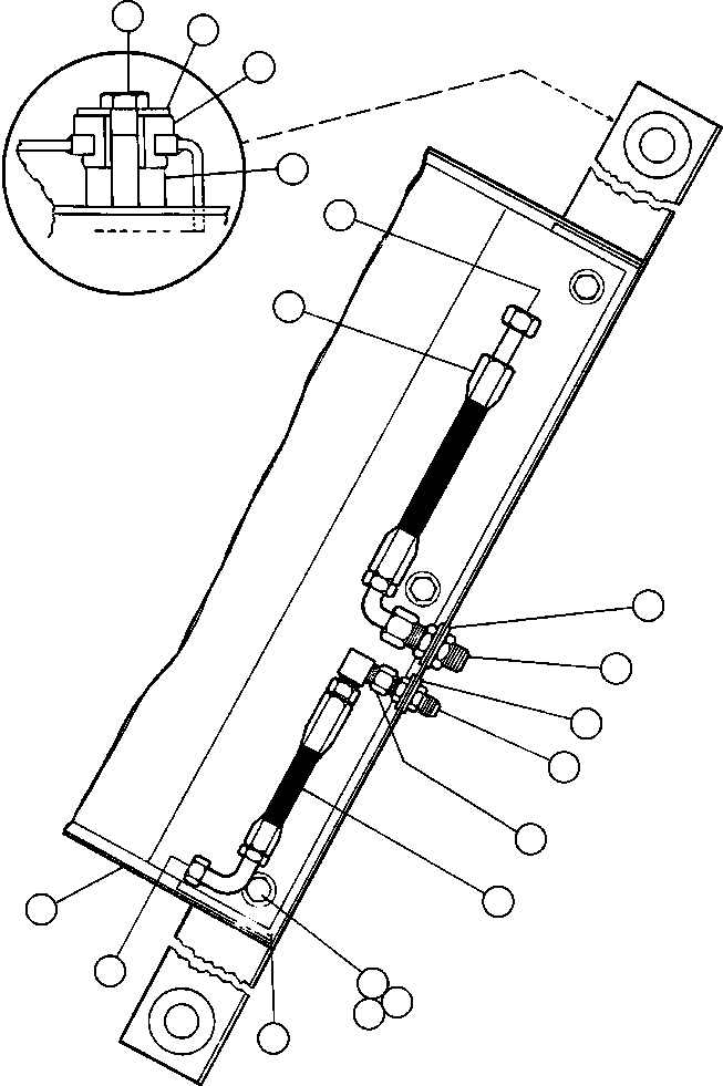
| ? | WA1732 | O-RING | 1 | ||||
| ? | HA5349 | HOSE | 1 | ||||
| ? | TF2449 | FLAT WASHER - 3/4" | 2 | ||||
| ? | VY3709 | FITTING, STRAIGHT | 1 | ||||
| ? | VN9780 | FLAT WASHER - 9/16" | 2 | ||||
| ? | VY4490 | FITTING, STRAIGHT | 1 | ||||
| ? | TR2767 | ELBOW - 90 DEG SWIVEL | 1 | ||||
| ? | HA5348 | HOSE | 1 | ||||
| ? | TY5090 | BRACKET, MOUNTING | 1 | ||||
| ? | PB2170 | CONDENSER | 1 | ||||
| ? | C1613 | CAPSCREW - 1/2" - 13NC X 1 1/4" | 6 | ||||
| ? | DD5640 | FLAT WASHER - 1/2" | 12 | ||||
| ? | VG7811 | LOCKNUT - 1/2" - 13NC | 6 | ||||
| ? | WA1731 | O-RING | 1 | ||||
| ? | C1615 | CAPSCREW - 1/2" - 13NC X 1 3/4" (1) | 4 | ||||
| ? | DA0557 | WASHER (1) | 4 | ||||
| ? | VY9850 | MOUNT, RUBBER (1) | 4 | ||||
| ? | TY5095 | LUG, TAPPED (1) | 4 | ||||
| ? | NOTE: (1) NOT INCLUDED IN ASSM |