| Номер на схеме | Каталожный номер | Название | Количество | Детали | |||
|---|---|---|---|---|---|---|---|
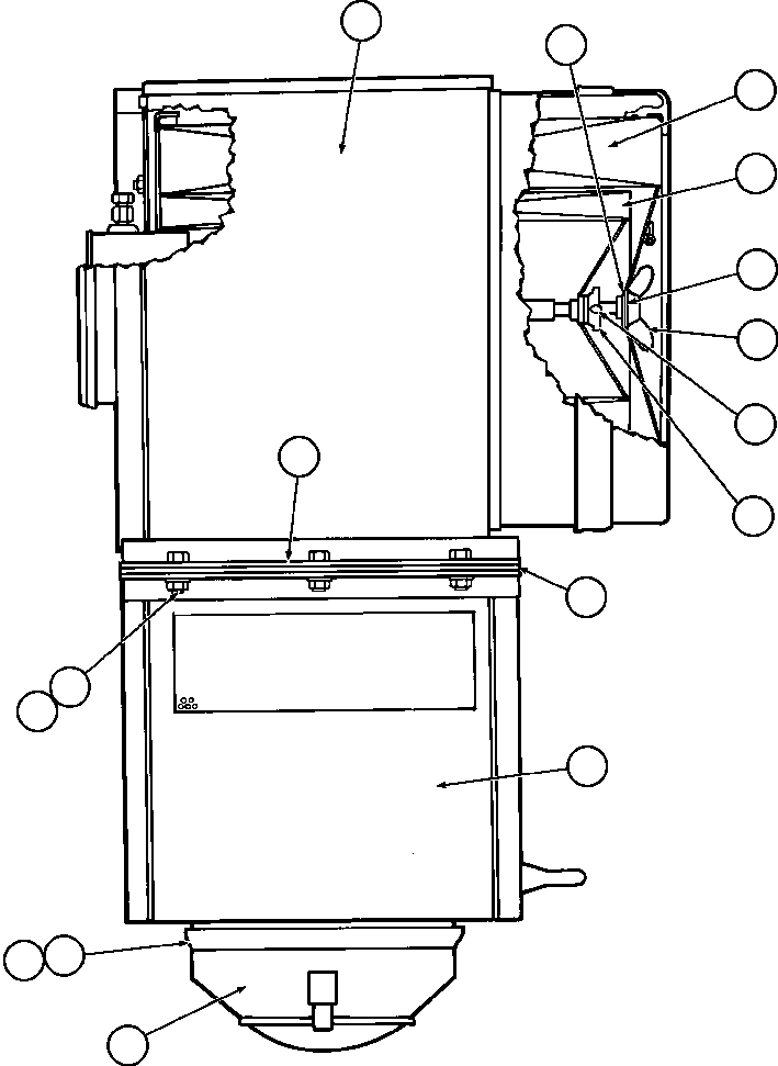
| ? | VJ1311 | BODY, UPPER | 1 | ||||
| ? | VJ5176 | ELEMENT, SAFETY | 2 | ||||
| ? | VS1351 | GASKET | 2 | ||||
| ? | VS1349 | PIN | 2 | ||||
| ? | VS6704 | NUT, INDICATOR | 2 | ||||
| ? | VJ5175 | ELEMENT, PRIMARY | 2 | ||||
| ? | VS2187 | NUT, WING | 2 | ||||
| ? | VS2188 | CLIP | 2 | ||||
| ? | VJ4028 | BODY, LOWER | 1 | ||||
| ? | VP0359 | CLAMP | 3 | ||||
| ? | VS2190 | O-RING | 3 | ||||
| ? | VJ4014 | CUP ASSM | 1 | ||||
| ? | VS2193 | GASKET | 2 | ||||
| ? | VS2194 | GASKET | 2 | ||||
| ? | VS2195 | BOLT | 22 | ||||
| ? | VS2196 | NUT | 22 |