k-part
Наименование Страница Код страницы
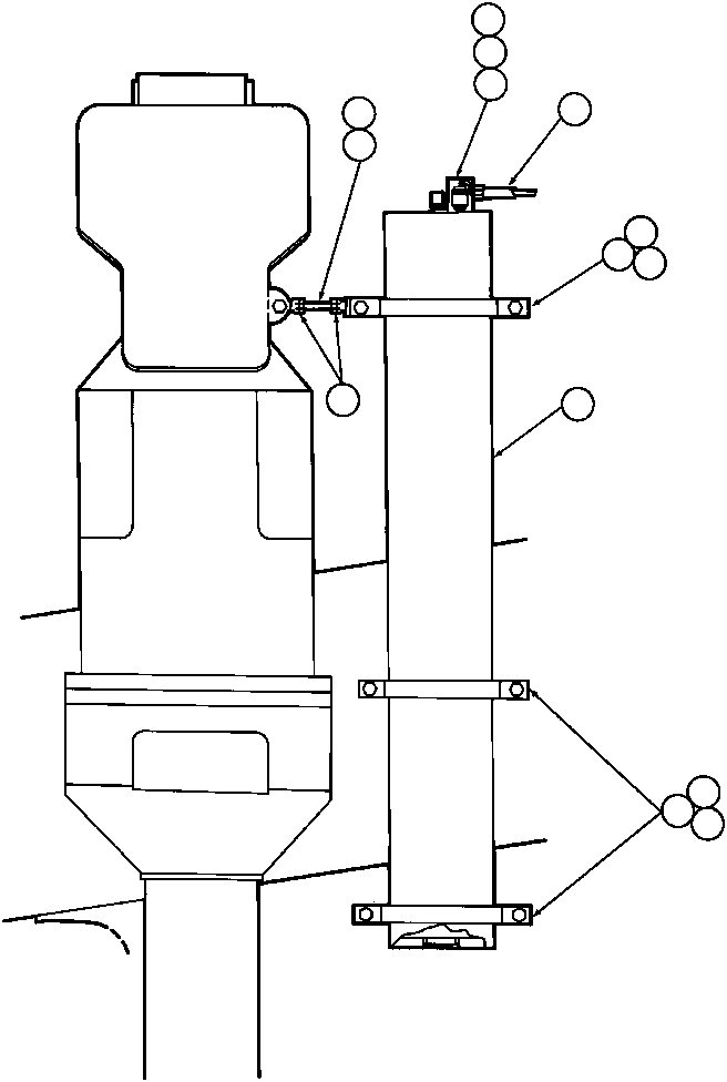
ACCUMULATOR ASSM (TY3541) 108 40441

Номер на схеме Каталожный номер Название Количество Детали
? TY8660 • ROD, THREADED 1
? VC3040 • • JAM NUT - 3/4" 2
? TN6999 • • COVER 1
? PB8333 • • SWITCH, PRESSURE (1) 1
? SM3072 • • HARNESS 1
? WA1606 • • END, ROD 2
? VF8334 • • CAPSCREW - 3/4" - 10NC X 2 3/4" 7
? VL2993 • • LOCKNUT - 3/4" 7
? TY8653 • • BRACKET 4
? TY3541 • • ACCUMULATOR ASSM (SEE INDEX) 1
? EC1015 • • LOAD WEIGHING VALVE ASSM (1) 1
? EC1447 • • BODY, VALVE (2) 1
? TD7179 • • CORE, VALVE (2) 1
? TL3995 • • O-RING (2) 1
? AK8290 • • NOTE: (1) INCLUDED IN KIT AK8290 65535
? EC1015 • • (2) INCLUDED IN KIT EC1015 65535

Dump Trucks Komatsu / AFE32-BQ 830E S/N 32229              SUNCOR(AFE32-BQ) / STEERING ACCUMULATOR INSTL(106 : 40434)
?
?
?
?
?
?
?
?
?
?
?
?
?
?