k-part
Номер на схеме Каталожный номер Название Количество Детали
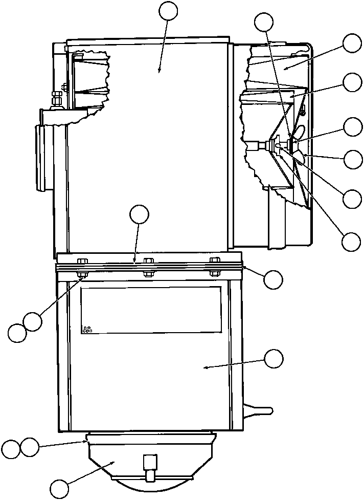
? VJ1311 • BODY, UPPER 1
? VJ5176 • • ELEMENT, SAFETY 2
? VS1351 • • GASKET 2
? VS1349 • • PIN 2
? VS6704 • • NUT, INDICATOR 2
? VJ5175 • • ELEMENT, PRIMARY 2
? VS2187 • • NUT, WING 2
? VS2188 • • CLIP 2
? VJ4028 • • BODY, LOWER 1
? VP0359 • • CLAMP 3
? VS2190 • • O-RING 3
? VJ4014 • • CUP ASSM 1
? VS2193 • • GASKET 2
? VS2194 • • GASKET 2
? VS2195 • • BOLT 22
? VS2196 • • NUT 22

Dump Trucks Komatsu / AFE32-BQ 830E S/N 32229              SUNCOR(AFE32-BQ) / AIR CLEANER ASSM (PB6850)(040 : 14491)
?
?
?
?
?
?
?
?
?
?
?
?
?
?
?
?