k-part
Наименование Страница Код страницы
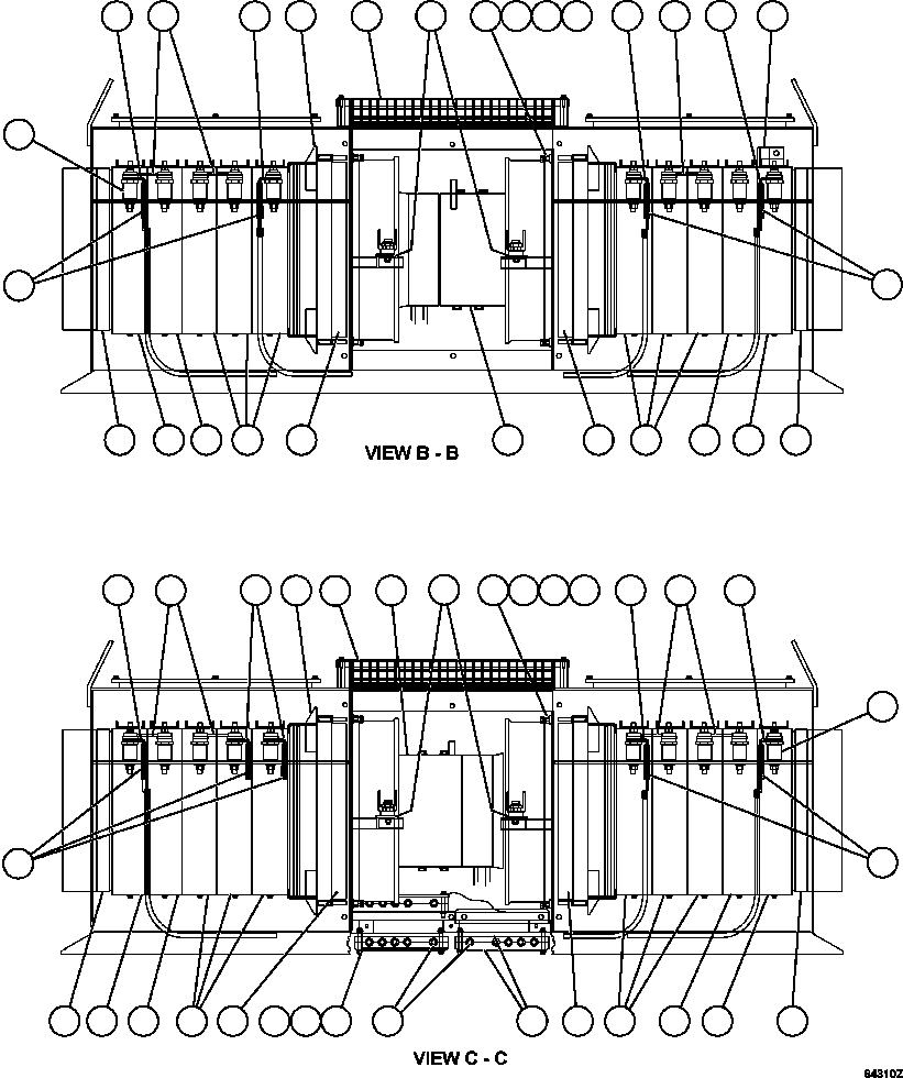
BLOWER MOTOR (BRUSH HOLDER WIRING) XA4146 650 64335

Номер на схеме Каталожный номер Название Количество Детали
? GE0855 BAR, BUS 15
? BF1888 FLAT WASHER - 1/2" 8
? GE0021 COLLAR ASSEMBLY 4
? GE1812 COVER ASSEMBLY 2
? GE0030 BAR, BUS 1
? GE0029 TUBE 11
? XA4548 BAR, BUS (INSULATED) 9
? GE0671 SPACER, END 4
? VE4648 FLAT WASHER - 5/16"
? VE4696 LOCKWASHER - 5/16"
? VE5013 NUT - 5/16" - 18NC
? GE1253 RESISTOR 1
? XA4160 DIFFUSER ASSEMBLY 2
? GE0019 • GASKET 4
? GE0020 • GASKET 4
? BF5597 • CEMENT (1 QUART)
? GE0851 RESISTOR 6
? XA4146 MOTOR, BLOWER (SEE INDEX) 2 64335
? GE1815 DIFFUSER ASSEMBLY 2
? GE0019 • GASKET 4
? GE0020 • GASKET 4
? BF5597 • CEMENT (1 QUART)
? GE0852 RESISTOR 9
? GE0850 RESISTOR 4
? VE4515 FLAT WASHER - 3/8"
? GE0023 INSULATOR 40
? XA2741 NUT - 5/8" - 11NC
? GE0038 SPACER 31
? GE0044 FLAT WASHER (SPECIAL)
? GE0045 NUT - 5/8" - 11NC
? VC1390 LOCKWASHER - 5/8"
? GE0042 WASHER - 5/8"
? VE4687 LOCKWASHER - 3/8"
? GE0040 CAPSCREW 6
? GE1816 CLAMP, CABLE 2
? GE1817 CLEAT, CABLE 2
? VE4698 NUT - 1/2" - 13NC 16
? PB8167 CAPSCREW - 1/2" - 13NC X 6 1/2" 16
? VE4519 FLAT WASHER - 1/2" (NARROW) 16
? VE4699 LOCKWASHER - 1/2" 16

Dump Trucks Komatsu / AFE62-S 930E-4SE S/N A31016, A31018 & A31020     COLLAHUASI(AFE62-S) / RETARDING GRID ASSEMBLY  2/3    PC2142(640 : 64310)
?
?
?
?
?
?
?
?
?
?
?
?
?
?
?
?
?
?
?
?
?
?
?
?
?
?
?
?
?
?
?
?
?
?
?
?
?
?
?
?
?
?
?
?
?
?
?
?
?
?
?
?
?
?
?
?
?
?
?
?