| Наименование | Страница | Код страницы |
|---|---|---|
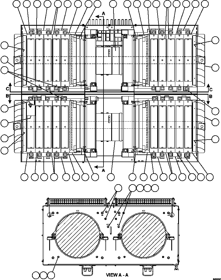
| BLOWER MOTOR (BRUSH HOLDER WIRING) XA4146 | 650 | 64335 |
| Номер на схеме | Каталожный номер | Название | Количество | Детали | |||
|---|---|---|---|---|---|---|---|
| ? | GE0850 | RESISTOR | 4 | ||||
| ? | XA4548 | BAR, BUS (INSULATED) | 9 | ||||
| ? | GE0851 | RESISTOR | 6 | ||||
| ? | GE0855 | BAR, BUS | 15 | ||||
| ? | GE0852 | RESISTOR | 9 | ||||
| ? | GE0021 | COLLAR ASSEMBLY | 4 | ||||
| ? | GE1815 | DIFFUSER ASSEMBLY | 2 | ||||
| ? | GE0019 | • GASKET | 4 | ||||
| ? | GE0020 | • GASKET | 4 | ||||
| ? | BF5597 | • CEMENT (1 QUART) | |||||
| ? | XA4160 | DIFFUSER ASSEMBLY | 2 | ||||
| ? | GE0019 | • GASKET | 4 | ||||
| ? | GE0020 | • GASKET | 4 | ||||
| ? | BF5597 | • CEMENT (1 QUART) | |||||
| ? | GE0671 | SPACER, END | 4 | ||||
| ? | VE4648 | FLAT WASHER - 5/16" | |||||
| ? | VE4696 | LOCKWASHER - 5/16" | |||||
| ? | VE5013 | NUT - 5/16" - 18NC | |||||
| ? | GE1810 | LOUVER ASSEMBLY | 4 | ||||
| ? | XA4146 | MOTOR, BLOWER (SEE INDEX) | 2 | 64335 | |||
| ? | GE0479 | INSULATOR ASSEMBLY | 2 | ||||
| ? | GE1253 | RESISTOR | 1 | ||||
| ? | GE0034 | INSULATOR | 1 | ||||
| ? | GE0030 | BAR, BUS | 1 | ||||
| ? | GE0041 | FLAT WASHER (SPECIAL) | |||||
| ? | VE4699 | LOCKWASHER - 1/2" | |||||
| ? | VE4698 | NUT - 1/2" - 13NC | |||||
| ? | VE4518 | CAPSCREW - 1/2" - 13NC X 1 1/2" | |||||
| ? | VE4739 | CAPSCREW - 3/8" - 16NC X 1" | 16 | ||||
| ? | VE4515 | FLAT WASHER - 3/8" | 18 | ||||
| ? | VE4687 | LOCKWASHER - 3/8" | 18 | ||||
| ? | GE0037 | GROMMET | 2 | ||||
| ? | GE0619 | CAPSCREW | 2 | ||||
| ? | (SEE FOLLOWING PAGE FOR VIEWS B-B & C-C.) |