| Номер на схеме | Каталожный номер | Название | Количество | Детали | |||
|---|---|---|---|---|---|---|---|
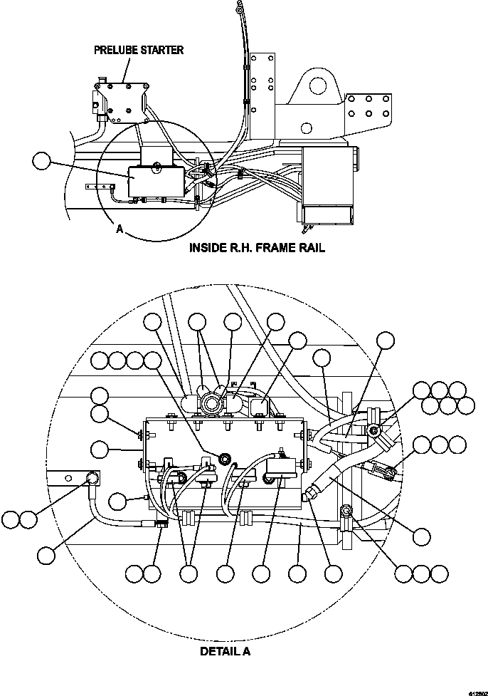
| ? | EJ5625 | COVER | 1 | ||||
| ? | MM0036 | CAPSCREW - M10 X 1.50 X 20 | 1 | ||||
| ? | MM0461 | FLAT WASHER - M10 | 4 | ||||
| ? | WB3092 | CLAMP, CUSHIONED - 7/8" | 1 | ||||
| ? | MM0459 | FLAT WASHER - M6 | 1 | ||||
| ? | MM0176 | NUT - M6 X 1.00 | 1 | ||||
| ? | EM3364 | ROD, THREADED | 1 | ||||
| ? | WB1303 | CLAMP, CUSHIONED - 3/4" | 1 | ||||
| ? | MM0462 | FLAT WASHER - M12 | 1 | ||||
| ? | MM0178 | NUT - M10 X 1.50 | 3 | ||||
| ? | TR1306 | CAPSCREW - 1/4" - 20NC X 1" | 8 | ||||
| ? | C1546 | FLAT WASHER - 1/4" | 8 | ||||
| ? | SOLENOID, PRELUBE TIMER (1) | 1 | |||||
| ? | RELAY, PRELUBE (1) | 1 | |||||
| ? | CH3423 | CABLE | 1 | ||||
| ? | 08193-21012 | CLIP | 1 | ||||
| ? | WB1300 | CLAMP, CUSHIONED - 5/8" | 3 | ||||
| ? | EM3810 | BRACKET | 1 | ||||
| ? | TC1234 | CAPSCREW - 3/8" - 16NC X 3/4" | 1 | ||||
| ? | TR4436 | FLAT WASHER - 3/8" | 1 | ||||
| ? | HA0188 | HOSE | 1 | ||||
| ? | WB0283 | FITTING, ELBOW - 45 DEG | 1 | ||||
| ? | 08038-00519 | CAP, TERMINAL | 2 | ||||
| ? | 677161R94 | SENDER, PRESSURE (ENGINE OIL) | 1 | ||||
| ? | VZ0589 | SWITCH, PRESSURE (ENGINE OIL) | 1 | ||||
| ? | SG3290 | SWITCH, PRESSURE (ENGINE OIL) | 2 | ||||
| ? | 08038-02027 | CAP, TERMINAL | 2 | ||||
| ? | C5768 | PLUG, PIPE - 1/8" | 1 | ||||
| ? | EM6152 | HARNESS, PRELUBE | 1 | ||||
| ? | EM6151 | LINK, FUSABLE | 1 | ||||
| ? | PC2252 | • FUSE - 150 AMP | 2 | ||||
| ? | PC1000 | MOUNT, RUBBER | 3 | ||||
| ? | C1521 | NUT - 3/8" - 16NC | 3 | ||||
| ? | C0312 | LOCKWASHER - 3/8" | 3 | ||||
| ? | WA0720 | FLAT WASHER - 3/8" (HARDENED) | 3 | ||||
| ? | NOTE: (1) SUPPLIED WITH ENGINE. |