k-part
Номер на схеме Каталожный номер Название Количество Детали
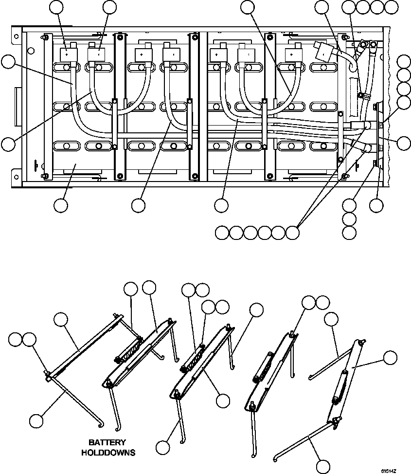
? VZ0639 BATTERY 4
? PC0247 CAP - RED 4
? PC0246 CAP - BLACK 4
? CH4070 CABLE, BATTERY - BLACK 1
? CH5801 CABLE, BATTERY - RED 1
? CH5803 CABLE, BATTERY - RED 1
? CH5707 CABLE, BATTERY - BLACK 1
? CH5802 CABLE, BATTERY - RED 1
? EL3819 BUS BAR 1
? VC6561 CAPSCREW - 1/2" - 13NC X 1 1/2" 2
? TR6643 NUT - 1/2" - 13NC 2
? TR5445 LOCKWASHER - 1/2" 6
? TR6008 FLAT WASHER - 1/2" 8
? VC1387 CAPSCREW - 1/2" - 13NC X 1" 4
? TY8375 SPACER 1
? WB1303 CLAMP, CUSHIONED - 3/4" 1
? MM0178 NUT - M10 X 1.50 5
? MM0461 FLAT WASHER - M10 1
? 08038-00035 CAP, TERMINAL 2
? EH7492 BUS BAR 2
? TD0791 CAPSCREW - 3/8" - 16NC X 1 1/4" 2
? TR4436 FLAT WASHER - 3/8" 4
? TC1231 LOCKWASHER - 3/8" 2
? TC1233 NUT - 3/8" - 16NC 2
? PC0291 INSULATOR 2
? EL0584 HOLD-DOWN 3
? EJ3805 TRIM, EDGE 3
? MM0713 FLAT WASHER - M10 (HARDENED) 10
? MM0693 LOCKNUT - M10 X 1.50 6
? 561-06-A4140 ROD 4
? 561-06-A4160 ROD 6
? MM0022 CAPSCREW - M8 X 1.25 X 20 8
? MM0712 FLAT WASHER - M8 (HARDENED) 8
? EJ0043 STRAP 4
? EL0585 SPACER 4
? EL5181 HOLD-DOWN 1
? 561-06-A4130 HOLD-DOWN 2

Dump Trucks Komatsu / AFE62-S 930E-4SE S/N A31016, A31018 & A31020     COLLAHUASI(AFE62-S) / BATTERY BOX    3/5(306 : 61514)
?
?
?
?
?
?
?
?
?
?
?
?
?
?
?
?
?
?
?
?
?
?
?
?
?
?
?
?
?
?
?
?
?
?
?
?
?
?
?
?
?
?
?
?
?
?