| Номер на схеме | Каталожный номер | Название | Количество | Детали | |||
|---|---|---|---|---|---|---|---|
| ? | MM0471 | LOCKWASHER - M10 | |||||
| ? | MM0461 | FLAT WASHER - M10 | |||||
| ? | MM0178 | NUT - M10 X 1.50 | |||||
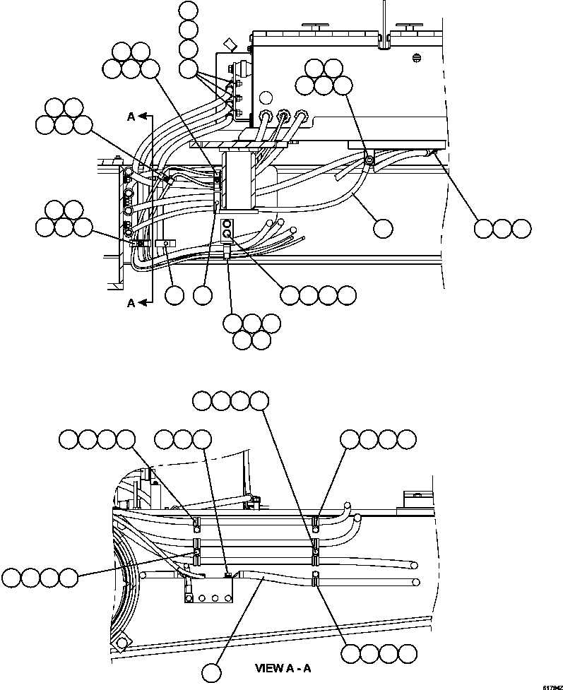
| ? | WB1303 | CLAMP, CUSHIONED - 3/4" | 3 | ||||
| ? | WB3092 | CLAMP, CUSHIONED - 7/8" | 4 | ||||
| ? | MM0605 | CAPSCREW - M10 X 1.50 X 25 | 5 | ||||
| ? | CH4085 | CABLE, GROUND - BATTERY BOX TO L.H. FRAME | 1 | ||||
| ? | EH7492 | BUS BAR | 1 | ||||
| ? | VC6561 | CAPSCREW - 1/2" - 13NC X 1 1/2" | 1 | ||||
| ? | TR5445 | LOCKWASHER - 1/2" | 1 | ||||
| ? | TR6008 | FLAT WASHER - 1/2" | 1 | ||||
| ? | TR6643 | NUT - 1/2" - 13NC | 1 | ||||
| ? | EM0570 | BRACKET | 1 | ||||
| ? | MM0619 | CAPSCREW - M12 X 1.75 X 35 | 2 | ||||
| ? | MM0462 | FLAT WASHER - M12 | 4 | ||||
| ? | MM0179 | NUT - M12 X 1.75 | 2 | ||||
| ? | EM3364 | ROD, THREADED | 3 | ||||
| ? | EJ3891 | CLAMP ASSEMBLY | 9 | ||||
| ? | EJ5576 | CLAMP ASSEMBLY | 2 | ||||
| ? | EL1939 | ROD, THREADED | 1 | ||||
| ? | SP7846 | CLAMP, CUSHIONED - 5/16" | 8 | ||||
| ? | MM0459 | FLAT WASHER - M6 | 4 | ||||
| ? | MM0176 | NUT - M6 X 1.00 | 4 | ||||
| ? | TD0791 | CAPSCREW - 3/8" - 16NC X 1 1/4" | 3 | ||||
| ? | TC1231 | LOCKWASHER - 3/8" | 3 | ||||
| ? | TR4436 | FLAT WASHER - 3/8" | 3 | ||||
| ? | TC1233 | NUT - 3/8" - 16NC | 3 |