k-part
Номер на схеме Каталожный номер Название Количество Детали
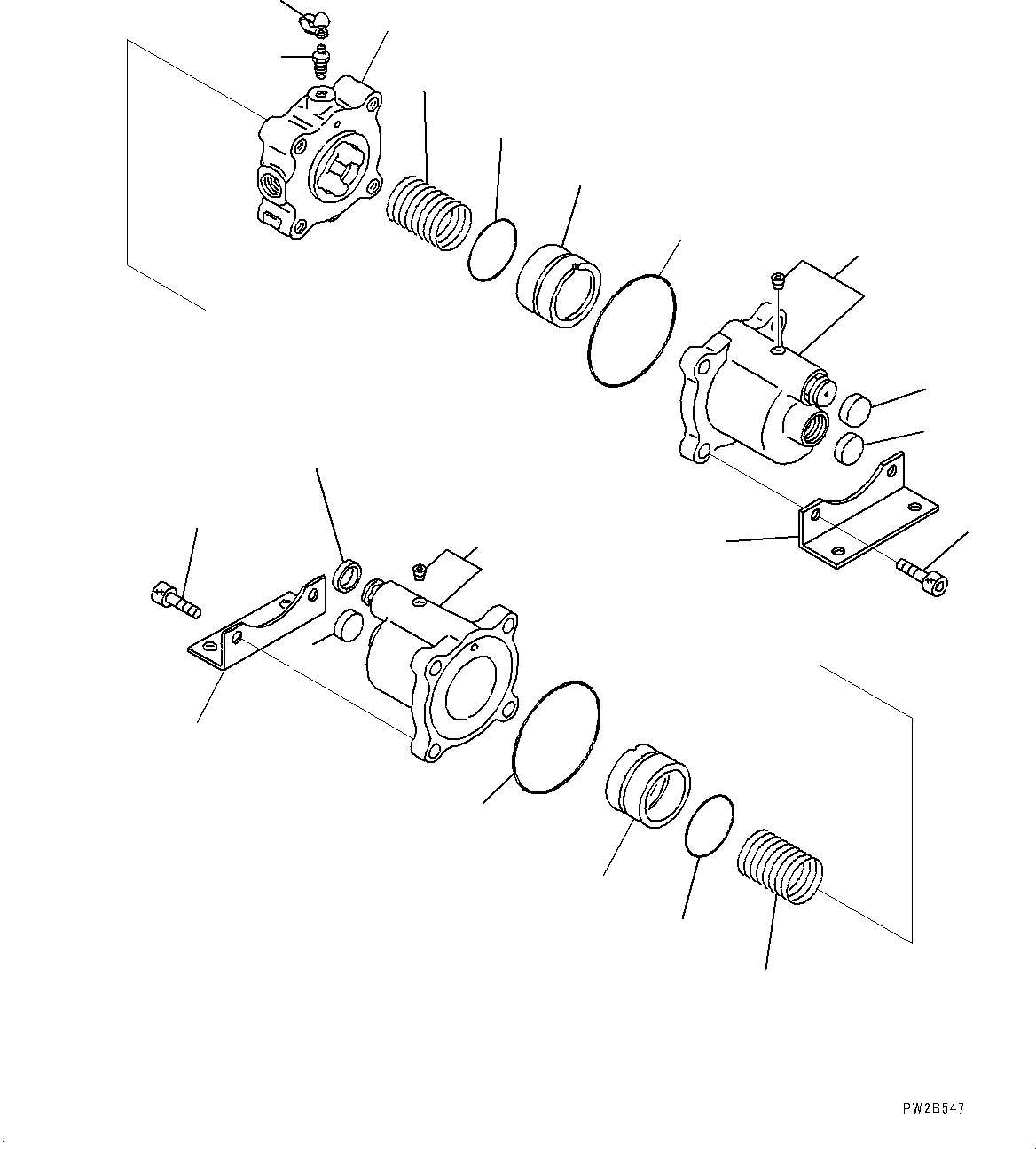
? 56B-43-17120 Slack Adjuster 1
SN: 2633-
KIT-FLAG: _-
SCC:
SERIALNO: 2633-
? • Cylinder Assembly 2
SN: 2633-
KIT-FLAG: _-
SCC: C1
SERIALNO: 2633-
? 424-35-15280 • • O-ring 1
SN: 2633-
KIT-FLAG: _-
SCC:
SERIALNO: 2633-
? • Body 1
SN: 2633-
KIT-FLAG: _-
SCC: C1
SERIALNO: 2633-
? • Cap 3
SN: 2633-
KIT-FLAG: _-
SCC: C1
SERIALNO: 2633-
? • Bracket 2
SN: 2633-
KIT-FLAG: _-
SCC: C1
SERIALNO: 2633-
? 425-43-27290 • Piston 2
SN: 2633-
KIT-FLAG: _-
SCC:
SERIALNO: 2633-
? 424-35-15230 • Spring 2
SN: 2633-
KIT-FLAG: _-
SCC:
SERIALNO: 2633-
? 424-35-15240 • O-ring 2
SN: 2633-
KIT-FLAG: _-
SCC:
SERIALNO: 2633-
? 424-35-15250 • Cover 2
SN: 2633-
KIT-FLAG: _-
SCC:
SERIALNO: 2633-
? 424-35-15260 • O-ring 2
SN: 2633-
KIT-FLAG: _-
SCC:
SERIALNO: 2633-
? 424-35-15270 • Valve 1
SN: 2633-
KIT-FLAG: _-
SCC:
SERIALNO: 2633-
? 426-35-27230 • Bolt 8
SN: 2633-
KIT-FLAG: _-
SCC:
SERIALNO: 2633-
? 426-35-27250 • Cap 1
SN: 2633-
KIT-FLAG: _-
SCC:
SERIALNO: 2633-

Dump Trucks Komatsu / HM400-2 S/N 2848-UP (KAL Spec.)(0000630C) / Rear Brake Oil Piping, Slack Adjuster (#2633-)(F016002 : F3465-002002)
?
?
?
?
?
?
?
?
?
?
?
?
?
?
?
?
?
?
?
?
?