k-part
Номер на схеме Каталожный номер Название Количество Детали
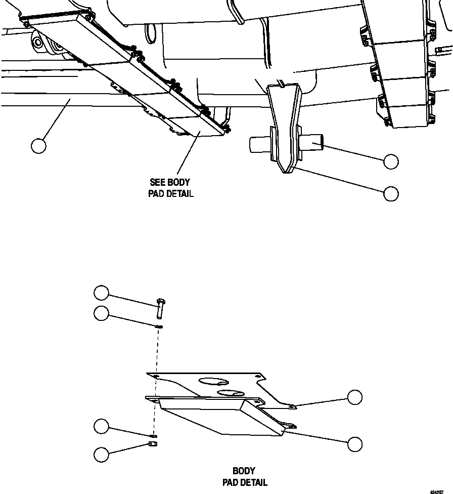
? TY5960 GUIDE, BODY 2
? EF0742 GUIDE, BODY 1
? TY9407 SHIM 118
? EG8098 PAD, BODY 8
? TR6643 NUT - 1/2" - 13NC 32
? TR5445 LOCKWASHER - 1/2" 32
? WA4728 FLAT WASHER - 1/2" (HARDENED) 32
? C1619 CAPSCREW - 1/2" - 13NC X 2 3/4" 32
? BODY (1) 1
? NOTE: NS = NOT SHOWN
? EH9292 FENDER - RH (2) 1
? EH9293 FENDER - LH (2) 1
? NOTE: (1) ORDER FROM FACTORY.
? (2) WELDED TO BODY.

Dump Trucks Komatsu / AFE62-Y 930E-4SE S/N A31105 & A31107    COLLAHUASI(AFE62-Y) / BODY GUIDE & PADS(258 : 42425)
?
?
?
?
?
?
?
?
?