k-part
Номер на схеме Каталожный номер Название Количество Детали
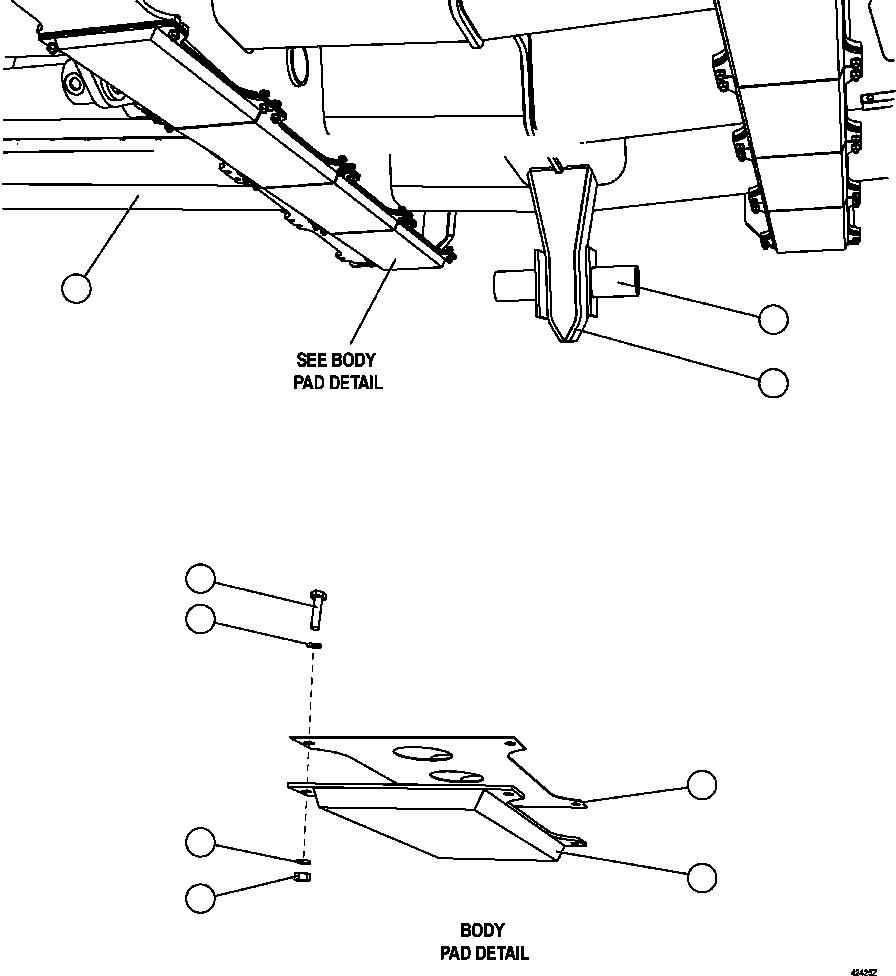
? TY5960 GUIDE, BODY 2
? EF0742 GUIDE, BODY 1
? TY9407 SHIM 118
? EG8098 PAD, BODY 8
? TR6643 NUT - 1/2" - 13NC 32
? TR5445 LOCKWASHER - 1/2" 32
? WA4728 FLAT WASHER - 1/2" (HARDENED) 32
? C1619 CAPSCREW - 1/2" - 13NC X 2 3/4" 32
? BODY (1) 1
? NOTE: (1) ORDER FROM FACTORY.

Dump Trucks Komatsu / AFE62-Z 930E-4SE S/N A31129 & A31151    CLERMONT(AFE62-Z) / BODY GUIDE & PADS(252 : 42425)
?
?
?
?
?
?
?
?
?