k-part
Номер на схеме Каталожный номер Название Количество Детали
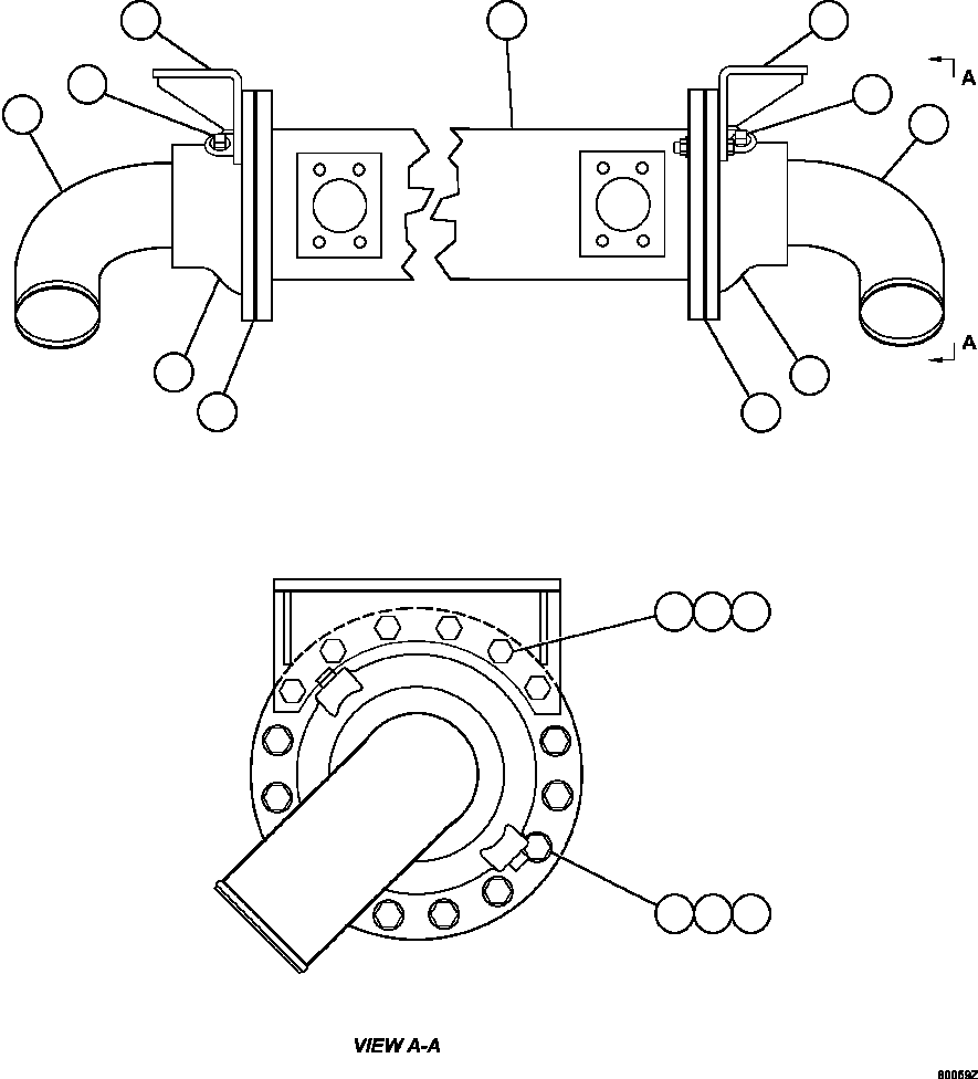
? BF2668 TUBE, CONNECTION 2
? BF2670 BRACKET, MOUNTING 2
? BF2665 PLUG 4
? BF2662 TUBE, COPPER 1
? BF2663 BONNET 2
? BF2664 GASKET 2
? VE7367 NUT - 1/2" - 13NC 32
? VE7366 LOCKWASHER - 1/2" 32
? BF2671 CAPSCREW - 1/2" - 13NC X 2 1/2" 12
? BF2666 CAPSCREW - 1/2" - 13NC X 2 1/4" 20

Dump Trucks Komatsu / AFE65-C 860E-1KT S/N A30016 - A30030  KUMBA SISHEN(AFE65-C) / HEAT EXCHANGER                    PB9796(058 : 60059)
?
?
?
?
?
?
?
?
?
?
?
?
?
?
?
?
?