| Номер на схеме | Каталожный номер | Название | Количество | Детали | |||
|---|---|---|---|---|---|---|---|
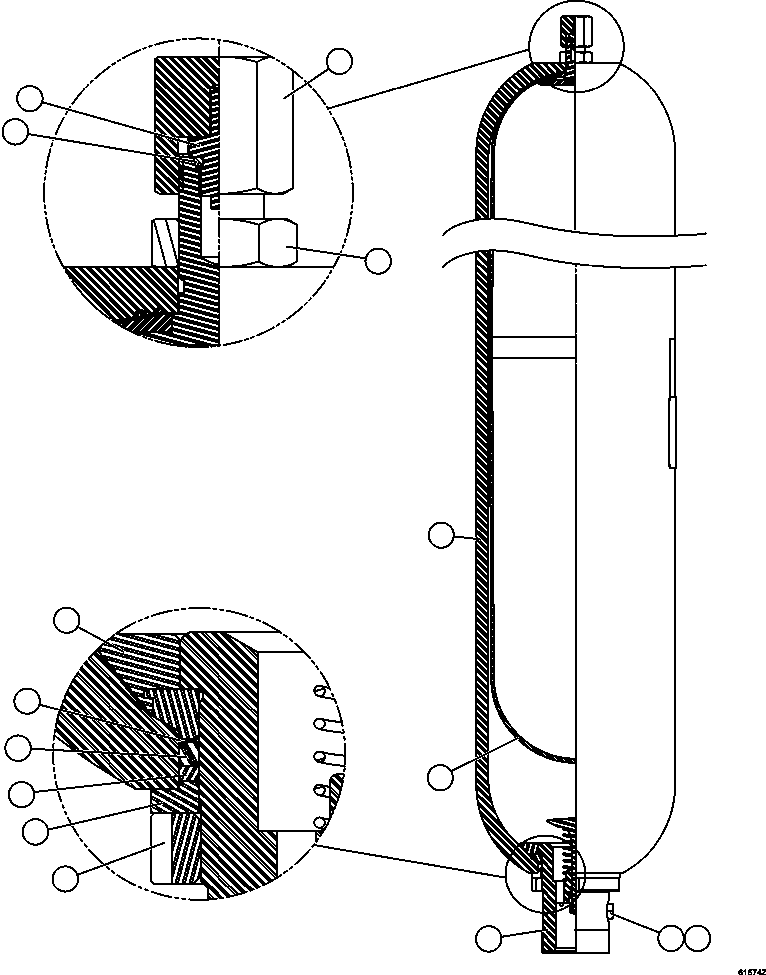
| ? | XA4897 | O-RING | 1 | ||||
| ? | XA0066 | VALVE PORT ASSEMBLY | 1 | ||||
| ? | XA4892 | • PORT, HYDRAULIC VALVE | 1 | ||||
| ? | XA0077 | PLUG, BLEED | 1 | ||||
| ? | XA0074 | RING, LOCKING | 1 | ||||
| ? | XA0073 | SPACER | 1 | ||||
| ? | XA0072 | RING, BACKUP (1) | 1 | ||||
| ? | XA0071 | O-RING (1) | 1 | ||||
| ? | XA0070 | WASHER, BACKUP (1) | 1 | ||||
| ? | XA0067 | RING, ANTI-EXTRUSION | 1 | ||||
| ? | BLADDER ASSEMBLY (1)/(2) | 1 | |||||
| ? | HOUSING (2) | 1 | |||||
| ? | XA1981 | SEAL, DYNA | 1 | ||||
| ? | XA1932 | NUT | 1 | ||||
| ? | XA1931 | GAS VALVE ASSEMBLY (1) | 1 | ||||
| ? | XA1933 | PROTECTOR, VALVE | 1 | ||||
| ? | AK4787 | NOTE: (1) INCLUDED IN AK4787 BLADDER REPAIR KIT. | |||||
| ? | (2) NOT SERVICED SEPARATELY. |