k-part
Номер на схеме Каталожный номер Название Количество Детали
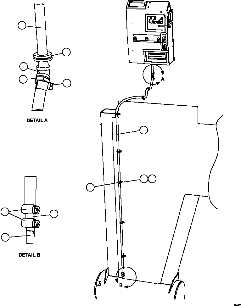
? TH7023 NIPPLE, LONG - 1/2" NPT X 7" 1
? SL6447 GROMMET 1
? SC4970 FITTING, ELBOW 1
? KC3835 FITTING, PIPE 1
? HC0908 CLAMP, WORM DRIVE 3
? HK0425 HOSE 1
? WB3093 CLAMP, CUSHIONED - 1" 7
? MM0461 FLAT WASHER - M10 7
? MM0178 NUT - M10 X 1.50 7
? SM6023 TUBE, DRAIN 1
? SM6022 VALVE, VACUUM 1

Dump Trucks Komatsu / AFE66-D 860E-1K S/N A30117 - A30118  ASSMANG(AFE66-D) / HEATER/AC DRAIN HOSE INSTALLATION(250 : 42462)
?
?
?
?
?
?
?
?
?
?
?
?