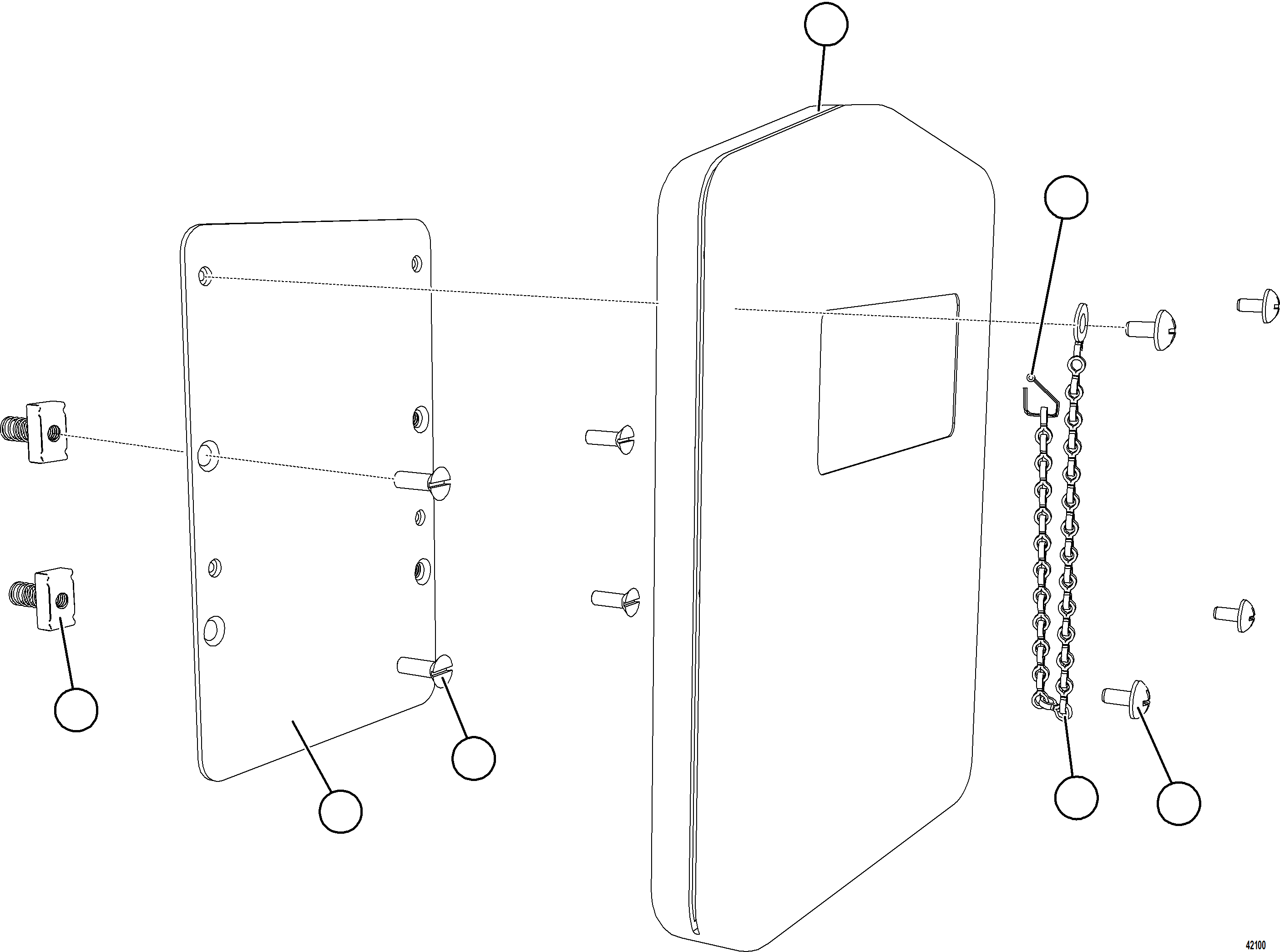
Найти k-part Содержание Dump Trucks Komatsu AFE66-D 860E-1K S/N A30117 - A30118 ASSMANG(AFE66-D) MANUAL HOLDER(186 : 42100) Номер на схеме Каталожный номер Название Количество Детали ? PC1825 NUT, SPRING 4 ? EL1098 MANUPAK PLATE 1 ? VN7403 MACHINE SCREW - 5/16" - 18NC X 1" 4 ? PC1801 MANUPAK 1 ? SM5245 CHAIN, BEADED 1 ? SM0926 SCREW, PANEL - M6 X 1.00 4 ? WA3217 COLD SHUT - 3/16" 1 ? ? ? ? ? ? ?