k-part
Номер на схеме Каталожный номер Название Количество Детали
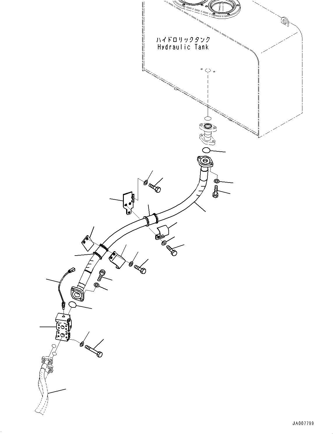
? 423-62-46390 Block 1
SN: 66847-
KIT-FLAG: _-
SCC:
SERIALNO: 66847-
? 01010-81095 Bolt 4
SN: 66847-
KIT-FLAG: _-
SCC:
SERIALNO: 66847-
? 01643-31032 Washer 4
SN: 66847-
KIT-FLAG: _-
SCC:
SERIALNO: 66847-
? 423-62-44570 Hose 1
SN: 66847-
KIT-FLAG: _-
SCC:
SERIALNO: 66847-
? 07000-13048 O-ring 2
SN: 66847-
KIT-FLAG: _-
SCC:
SERIALNO: 66847-
? 01010-81240 Bolt 4
SN: 66847-
KIT-FLAG: _-
SCC:
SERIALNO: 66847-
? 01643-31232 Washer 4
SN: 66847-
KIT-FLAG: _-
SCC:
SERIALNO: 66847-
? 22U-62-21551 Clamp 1
SN: 66847-
KIT-FLAG: _-
SCC:
SERIALNO: 66847-
? 07095-01245 Cushion 1
SN: 66847-
KIT-FLAG: _-
SCC:
SERIALNO: 66847-
? 423-62-43670 Plate 1
SN: 66847-
KIT-FLAG: _-
SCC:
SERIALNO: 66847-
? 01010-D1235 Bolt 2
SN: 66847-
KIT-FLAG: _-
SCC:
SERIALNO: 66847-
? 01643-71232 Washer 2
SN: 66847-
KIT-FLAG: _-
SCC:
SERIALNO: 66847-
? 22U-62-21551 Clamp 1
SN: 66847-
KIT-FLAG: _-
SCC:
SERIALNO: 66847-
? 07095-01245 Cushion 1
SN: 66847-
KIT-FLAG: _-
SCC:
SERIALNO: 66847-
? 01010-81230 Bolt 2
SN: 66847-
KIT-FLAG: _-
SCC:
SERIALNO: 66847-
? 01643-31232 Washer 2
SN: 66847-
KIT-FLAG: _-
SCC:
SERIALNO: 66847-
? 423-62-43660 Bracket 1
SN: 66847-
KIT-FLAG: _-
SCC:
SERIALNO: 66847-
? 01010-D1230 Bolt 2
SN: 66847-
KIT-FLAG: _-
SCC:
SERIALNO: 66847-
? 01643-71232 Washer 2
SN: 66847-
KIT-FLAG: _-
SCC:
SERIALNO: 66847-
? 7861-93-3320 Sensor, Temperature, Hydraulic Oil 1
SN: 66847-
KIT-FLAG: _-
SCC:
SERIALNO: 66847-
? (423-62-41491) Hose
SN: -
KIT-FLAG: _-
SCC:
SERIALNO:
H4200-002002

Wheel Loaders Komatsu / WA380Z-6 S/N 66847-UP(0000638C) / Hydraulic Piping, Return Piping (#66847-)(H012012 : H4200-002012)
?
?
?
?
?
?
?
?
?
?
?
?
?
?
?
?
?
?
?
?
?
?
?
?