| Наименование | Страница | Код страницы |
|---|---|---|
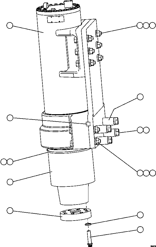
| FRONT SUSPENSION ASSEMBLY 58D-50-00000 | 116 | 56131 |
| Номер на схеме | Каталожный номер | Название | Количество | Детали | |||
|---|---|---|---|---|---|---|---|
| ? | 58D-50-00000 | FRONT SUSPENSION ASSEMBLY (SEE INDEX) | 1 | 56131 | |||
| ? | VN9182 | CAPSCREW - 1 1/2" - 6NC X 6" (1) | 6 | ||||
| ? | WA0368 | FLAT WASHER - 1 1/2" (1) | 24 | ||||
| ? | WA0404 | NUT - 1 1/2" - 6NC (1) | 10 | ||||
| ? | EL4671 | SPACER (1) | 4 | ||||
| ? | EB2080 | CAPSCREW - 1 1/2" - 6NC X 10 3/4" (1) | 8 | ||||
| ? | WA4817 | CAPSCREW - 1 1/4" - 12NF X 5" | 8 | ||||
| ? | TY2149 | FLAT WASHER - 1 1/4" | 8 | ||||
| ? | EJ9962 | PLATE, RETAINER | 1 | ||||
| ? | TZ1637 | KEY, SHEAR (1) | 1 | ||||
| ? | TZ4354 | BOOT | 1 | ||||
| ? | TZ4355 | WIRE, BOOT | 1 | ||||
| ? | WA1754 | CLAMP, WORM DRIVE | 2 | ||||
| ? | 58D-MH-AK040 | NOTE: (1) INCLUDED IN 58D-MH-AK040 FRONT SUSPENSION | |||||
| ? | MOUNT KIT. | ||||||
| ? | (QUANTITIES ARE FOR ONE SUSPENSION ONLY) |