k-part
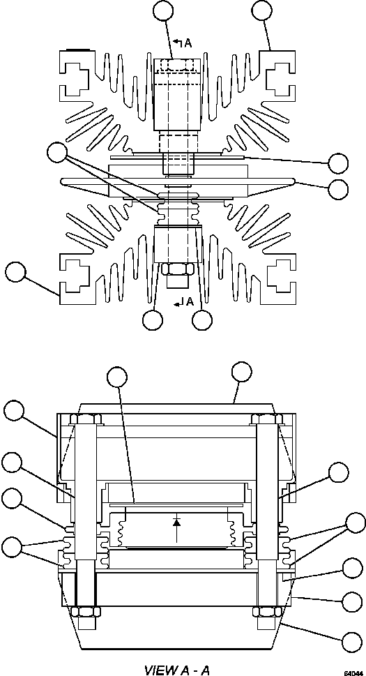
Номер на схеме Каталожный номер Название Количество Детали
? GE0559 SINK, HEAT 2
? VE5038 BAR, SUPPORT 1
? VE5037 SHIELD, GLASTIC 1
? VE5036 GROMMET 4
? VE5039 TUBE 2
? VE5035 CLAMP 1
? VE4328 RING, MOLDED 1
? VE0174 DIODE 1

Dump Trucks Komatsu / AFE69-C 730E-8 S/N A40009 - A40013  WESTMORELAND COAL(AFE69-C) / DIODE/HEAT SINK ASSEMBLY    GE0558(674 : 64044)
?
?
?
?
?
?
?
?
?
?
?
?
?
?
?
?
?
?
?