k-part
Номер на схеме Каталожный номер Название Количество Детали
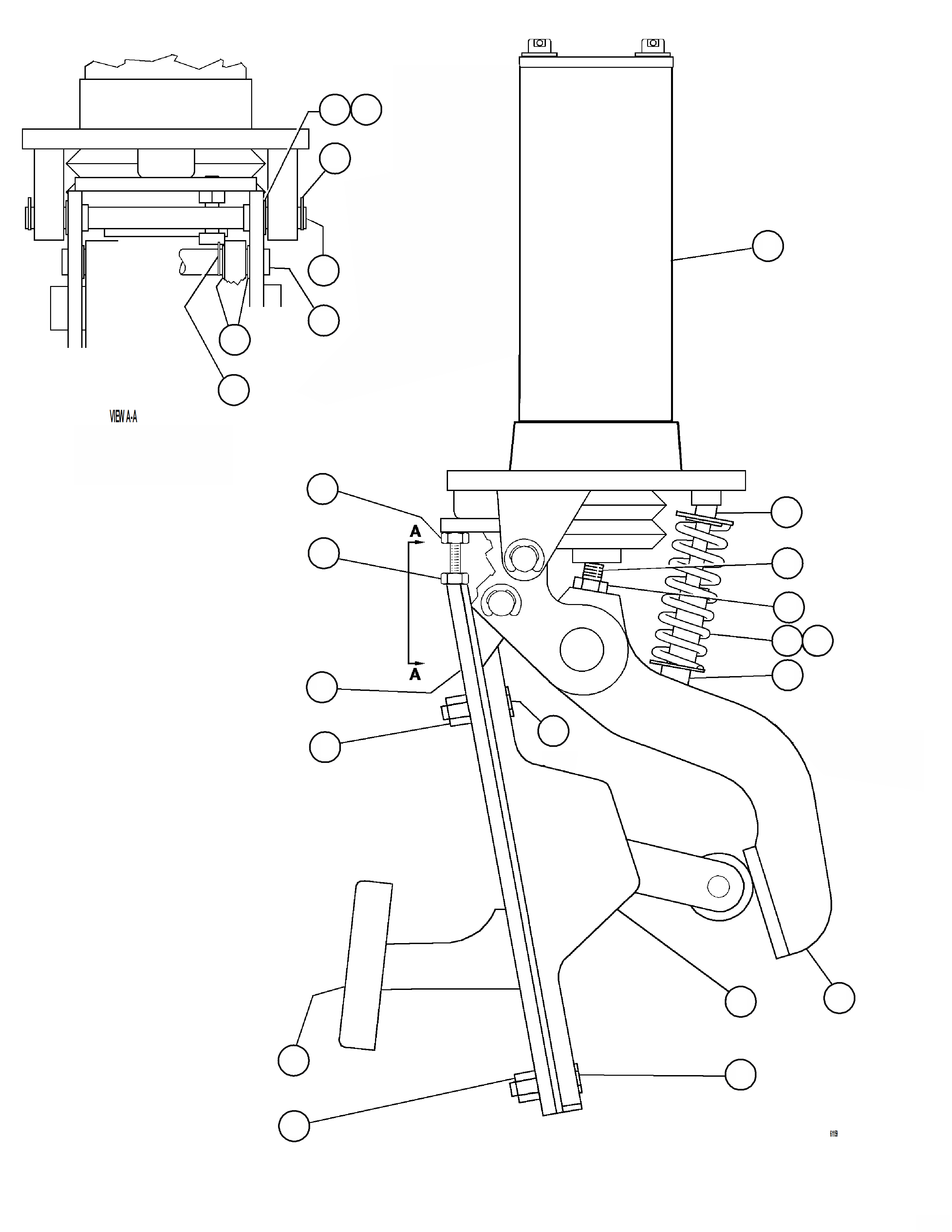
? XA2704 VALVE SUB-ASSEMBLY 1
? BF2584 CAPSCREW 3
? BF2588 NUT 2
? BF2582 FOOT PAD, RUBBER 1
? BF2587 PEDAL ASSEMBLY (ACTUATOR) 1
? BF2585 NUT 1
? XA3393 PIN, PEDAL 1
? BF1858 BEARING, FLANGED (NYLON) 6
? VE8835 RING, RETAINING 2
? XA3392 PEDAL ASSEMBLY 1
? XA3394 PEDAL ASSEMBLY (ELECTRONIC) 1
? STOP, BOTTOM PIVOT (1) 1
? VE8538 NUT 1
? BF1854 BOLT 1
? STOP, TOP PIVOT (1) 1
? BF1857 SHIM
? SPRING, INNER (1) 1
? SPRING, OUTER (1) 1
? XA3389 PIN, ACTUATOR 1
? XA3395 RING, RETAINING 2
? 58F-00-00260 NOTE: (1) INCLUDED IN 58F-00-00260 SPRING & STOP KIT.

Dump Trucks Komatsu / AFE73-G 980E-4 S/N A40078 - A40079  ESCONDIDA(AFE73-G) / RETARD/BRAKE VALVE ASSEMBLY    58F-61-00000(536 : 61159)
?
?
?
?
?
?
?
?
?
?
?
?
?
?
?
?
?
?
?
?
?
?
?
?