k-part
Номер на схеме Каталожный номер Название Количество Детали
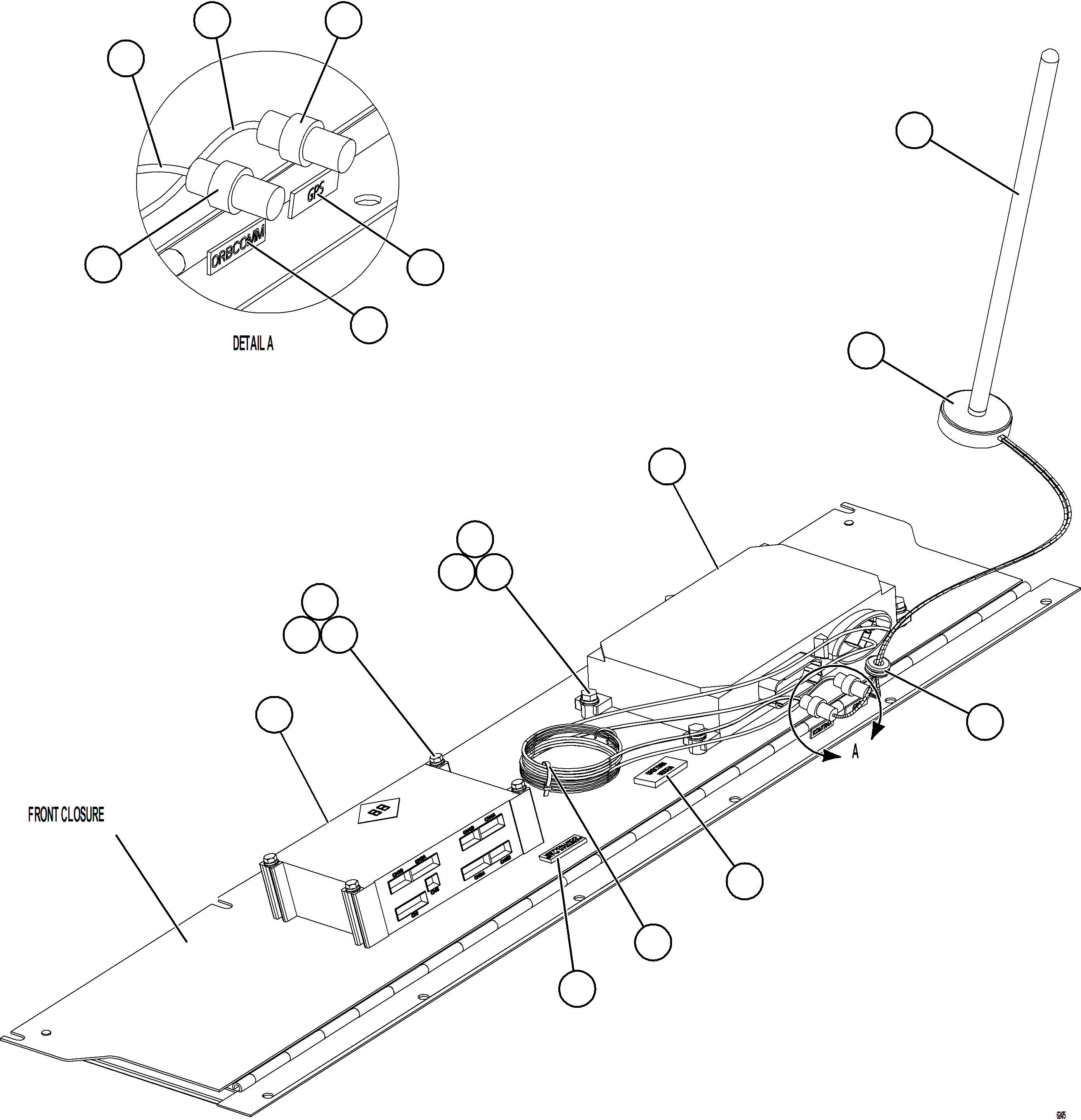
? PC3134 ANTENNA, GPS-ORBCOMM 1
? PC3133 BASE, ANTENNA 1
? TD2186 GROMMET, RUBBER 1
? PC1701 FITTING, BULKHEAD COAX 2
? PC3137 CABLE, MODEM 1
? PC1962 HARNESS, WIRING - ORBCOMM 1
? WB3899 NAME PLATE - GPS 1
? 58D-06-03100 NAME PLATE - ORBCOMM 1
? WB2879 NAME PLATE - ORBCOMM MODEM 1
? VZ0598 TYRAP 2
? WB2838 NAME PLATE - VHMS COMMON CONTROLLER 1
? 7826-12-2509 CONTROLLER, ORBCOMM 1
? MM0594 CAPSCREW - M8 X 1.25 X 25 4
? MM0470 LOCKWASHER - M8 8
? MM0460 FLAT WASHER - M8 8
? MM0401 CAPSCREW - M8 X 1.25 X 90 4
? 7826-19-8500 CONTROLLER, KOMTRAX PLUS 1
? NOTE: NS = NOT SHOWN
? EJ6371 CONNECTOR, CN2B 1

Dump Trucks Komatsu / AFE73-N 980E-4 S/N A40147 - A40148  LAS BAMBAS(AFE73-N) / ORBCOMM / KOMTRAX PLUS INSTALLATION(268 : 62475)
?
?
?
?
?
?
?
?
?
?
?
?
?
?
?
?
?
?
?
?