| Номер на схеме | Каталожный номер | Название | Количество | Детали | |||
|---|---|---|---|---|---|---|---|
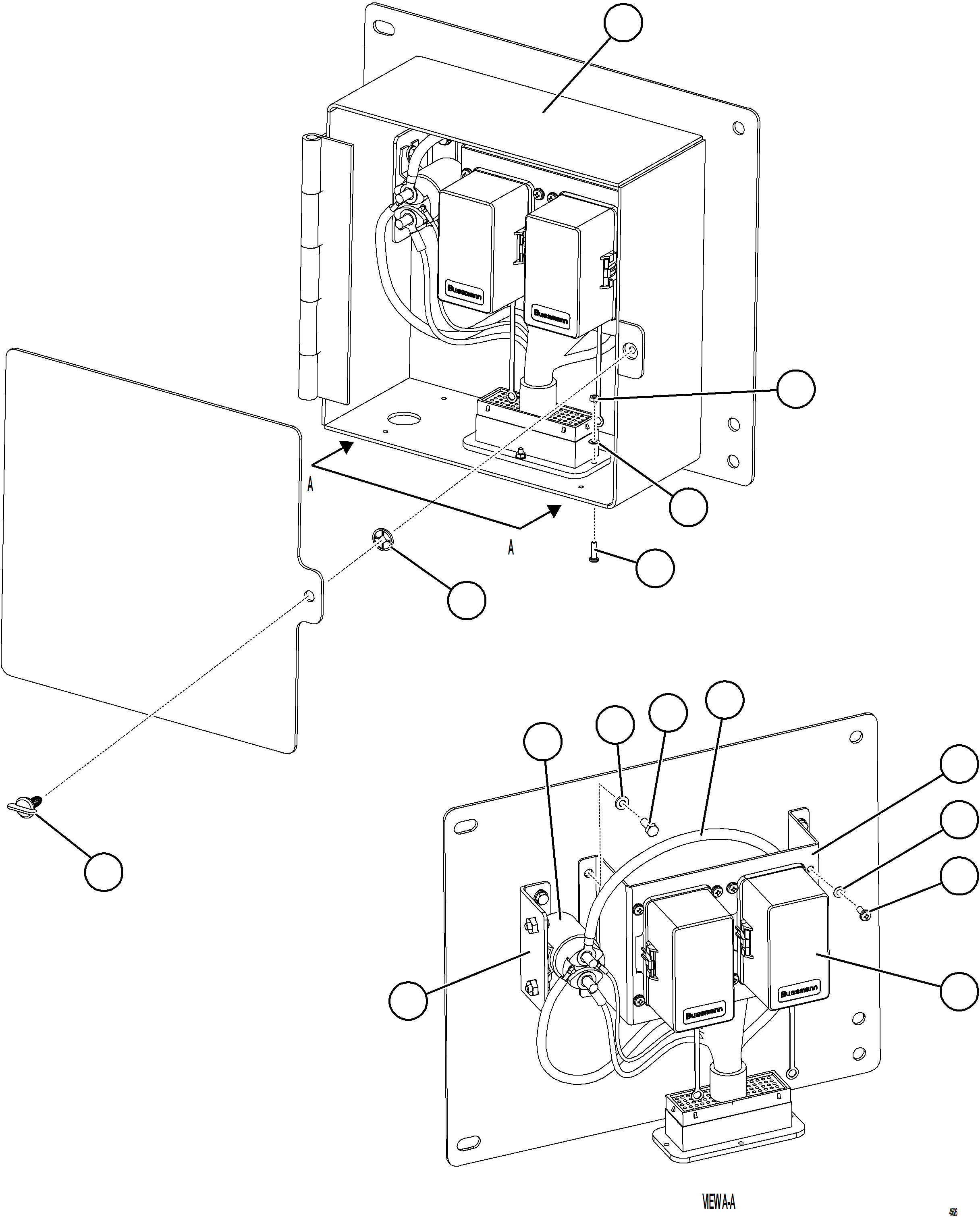
| ? | 58B-06-03220 | BRACKET, RELAY | 1 | ||||
| ? | 58B-06-04610 | RELAY, 24V/120A | 1 | ||||
| ? | 58B-06-19011 | BOX, RELAY | 1 | ||||
| ? | 58B-06-19031 | HARNESS, WIRING - DEF RELAY | 1 | ||||
| ? | 58B-06-20861 | CABLE, LINE HEATER | 1 | ||||
| ? | XC2531 | BRACKET, RTMR | 1 | ||||
| ? | EK7573 | SCREW, CAPTIVE | 1 | ||||
| ? | EK7907 | RETAINER | 1 | ||||
| ? | MM0206 | LOCKWASHER - M5 | 8 | ||||
| ? | MM0343 | MACHINE SCREW - M4 X 0.7 X 16 | 4 | ||||
| ? | MM0349 | MACHINE SCREW - M5 X 0.8 X 12 | 8 | ||||
| ? | MM0372 | NUT - M4 X 0.7 | 4 | ||||
| ? | MM0378 | LOCKWASHER, EXTERNAL TOOTH - M4 | 4 | ||||
| ? | MM0469 | LOCKWASHER - M6 | 8 | ||||
| ? | MM0581 | CAPSCREW - M6 X 1.00 X 16 | 8 |