k-part
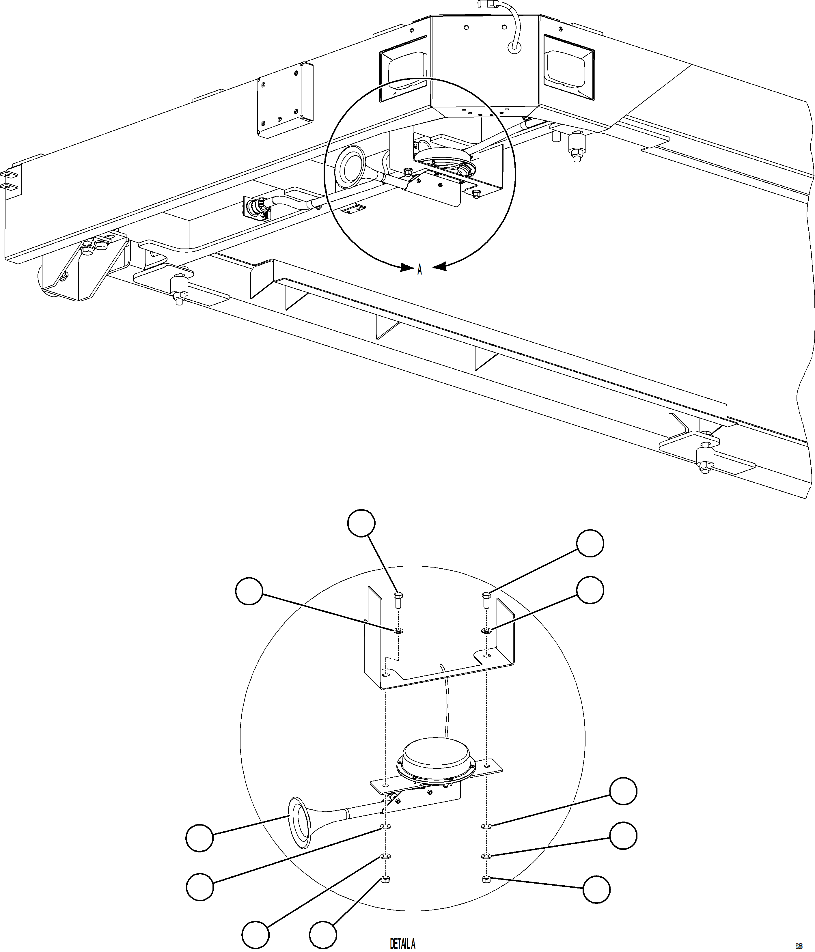
Номер на схеме Каталожный номер Название Количество Детали
? 58F-54-20452 HORN, ELECTRIC 1
? MM0179 NUT - M12 X 1.75 2
? MM0462 FLAT WASHER - M12 4
? MM0472 LOCKWASHER - M12 2
? MM0620 CAPSCREW - M12 X 1.75 X 40 2

Dump Trucks Komatsu / AFE75-K 980E-5 S/N A50040 - A50041 TOROMOCHO(AFE75-K) / HORN INSTALLATION(114 : 63258)
?
?
?
?
?
?
?
?
?
?
?