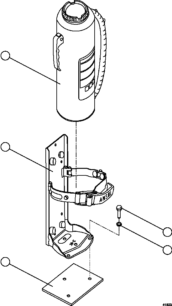
Найти k-part Содержание Dump Trucks Komatsu AFE77-L 830E-5 S/N A50034 - A50038, A50041 - A50042 BOLIDEN(AFE77-L) FIRE EXTINGUISHER(784 : 41823) Номер на схеме Каталожный номер Название Количество Детали ? PB2849 FIRE EXTINGUISHER 2 ? PB2850 BRACKET, FENDER 2 ? VW6804 PAD, TAPPED 1 ? H8524 CAPSCREW - 3/8" - 16NC X 5/8" 6 ? C0312 LOCKWASHER - 3/8" 6 ? ? ? ? ?