k-part
Номер на схеме Каталожный номер Название Количество Детали
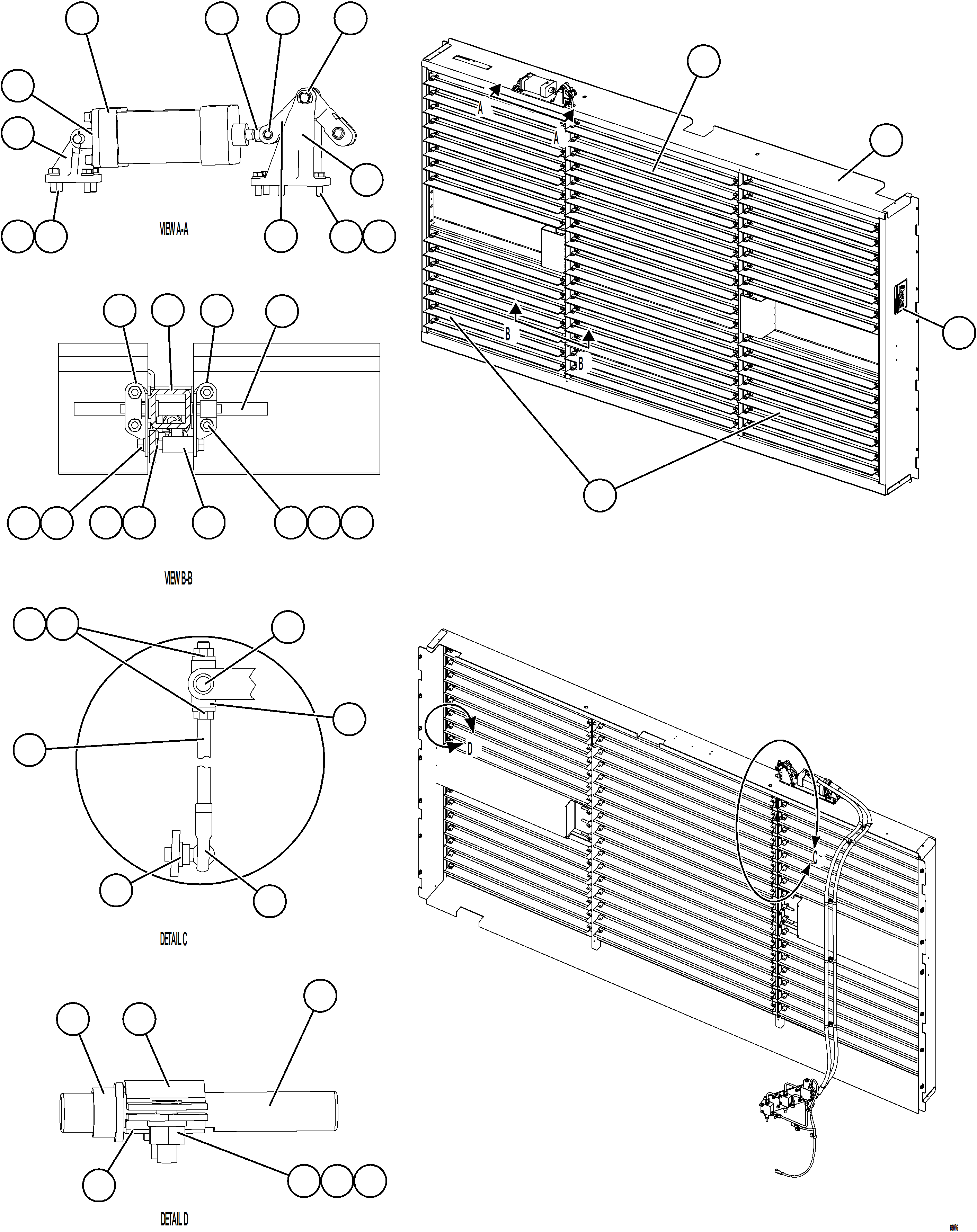
? 58E-80-05410 BOX ASSEMBLY 1
? 58E-80-05510 VANE 30
? 58E-80-05610 VANE 18
? VE2672 ROD, CENTER VANE 36
? VE2671 ROD, END VANE 30
? VE2681 BUSHING - PKG. 30 66
? VE2683 CLAMP, FRONT - PKG. 20 102
? VE2677 CRANK - RH 18
? VE2678 CRANK - LH 18
? VE2676 PIN, CRANK 18
? VE2675 SLEEVE, CRANK 18
? VE2680 BUSHING - PKG. 10 18
? VE2682 CLAMP, LOCK - PKG. 10 66
? VE5332 BAR, CONTROL 1
? VE5333 ROD, CONTROL 1
? VE2693 END, BALL 1
? VE2695 PIN 1
? VE2696 PIN ASSEMBLY 1
? VE2690 CYLINDER MOUNT ASSEMBLY 1
? VE2691 CYLINDER END ASSEMBLY 1
? VE2687 BRACKET 1
? VE2684 CYLINDER BRACKET ASSEMBLY 1
? VE2688 ARM ASSEMBLY 1
? VE2692 BLOCK, ROD 1
? 58E-98-10630 PIN, BLOCK 1
? XA2543 CYLINDER, CONTROL 1
? C1538 LOCKWASHER - 5/16" 8
? H8620 CAPSCREW - 5/16" - 18NC X 1 1/4" 8
? VE2700 STUD, SPLINE - 1/4" - 20NC 204
? C5774 LOCKWASHER - 1/4" 240
? C5780 NUT - 1/4" - 20NC 240
? VE8559 LOCKWASHER - 3/8" 1
? 58E-03-03160 DECAL, HEAT EXCHANGERS 2
? C1522 NUT - 3/8" - 24NF 2

Dump Trucks Komatsu / AFE77-U 830E-5 S/N A50066 - A50067  COPPER MOUNTAIN(AFE77-U) / RADIATOR SHUTTER ASSEMBLY    58E-03-01560(852 : 69076)
?
?
?
?
?
?
?
?
?
?
?
?
?
?
?
?
?
?
?
?
?
?
?
?
?
?
?
?
?
?
?
?
?
?
?
?
?
?
?
?
?
?