| Номер на схеме | Каталожный номер | Название | Количество | Детали | |||
|---|---|---|---|---|---|---|---|
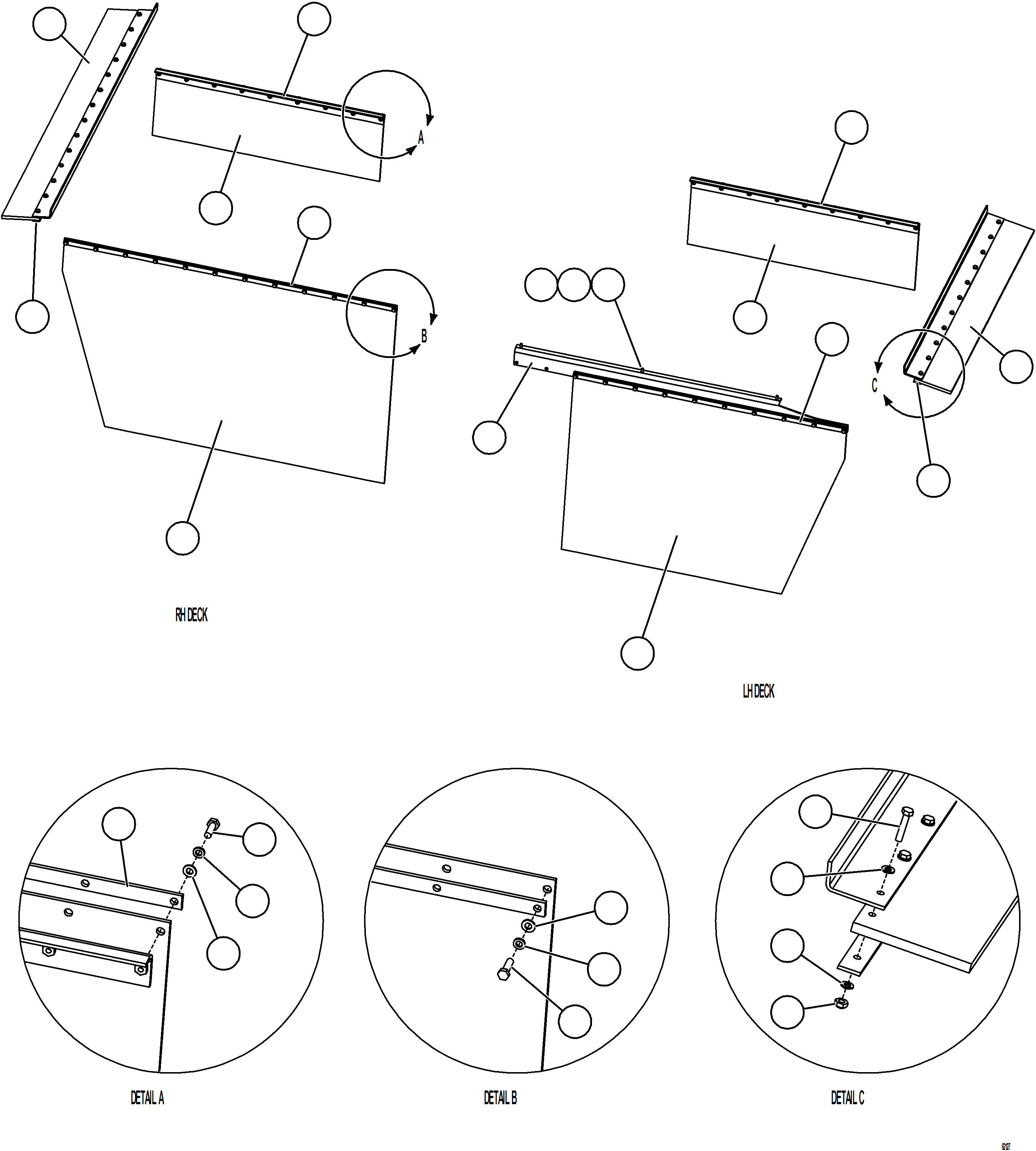
| ? | XC1607 | BRACKET, MUD FLAP | 1 | ||||
| ? | XB5489 | MUD FLAP | 2 | ||||
| ? | EF6613 | BAR, FLAT | 2 | ||||
| ? | MM0606 | CAPSCREW - M10 X 1.50 X 30 | 21 | ||||
| ? | MM0471 | LOCKWASHER - M10 | 43 | ||||
| ? | MM0461 | FLAT WASHER - M10 | 91 | ||||
| ? | MM0607 | CAPSCREW - M10 X 1.50 X 35 | 22 | ||||
| ? | EF4813 | BRACKET - LH | 1 | ||||
| ? | EF6605 | BAR, FLAT | 1 | ||||
| ? | XB5484 | MUD FLAP | 1 | ||||
| ? | EJ5709 | MUD FLAP | 1 | ||||
| ? | EJ5710 | RETAINER | 1 | ||||
| ? | EK2602 | BAR, FLAT | 1 | ||||
| ? | XB5487 | MUD FLAP | 1 | ||||
| ? | XB5551 | MUD FLAP | 1 | ||||
| ? | XB5552 | RETAINER | 1 | ||||
| ? | MM0067 | CAPSCREW - M10 X 1.50 X 50 | 24 | ||||
| ? | MM0693 | LOCKNUT - M10 X 1.50 | 24 | ||||
| ? | XC1606 | BRACKET, MUD FLAP | 1 |