| Номер на схеме | Каталожный номер | Название | Количество | Детали | |||
|---|---|---|---|---|---|---|---|
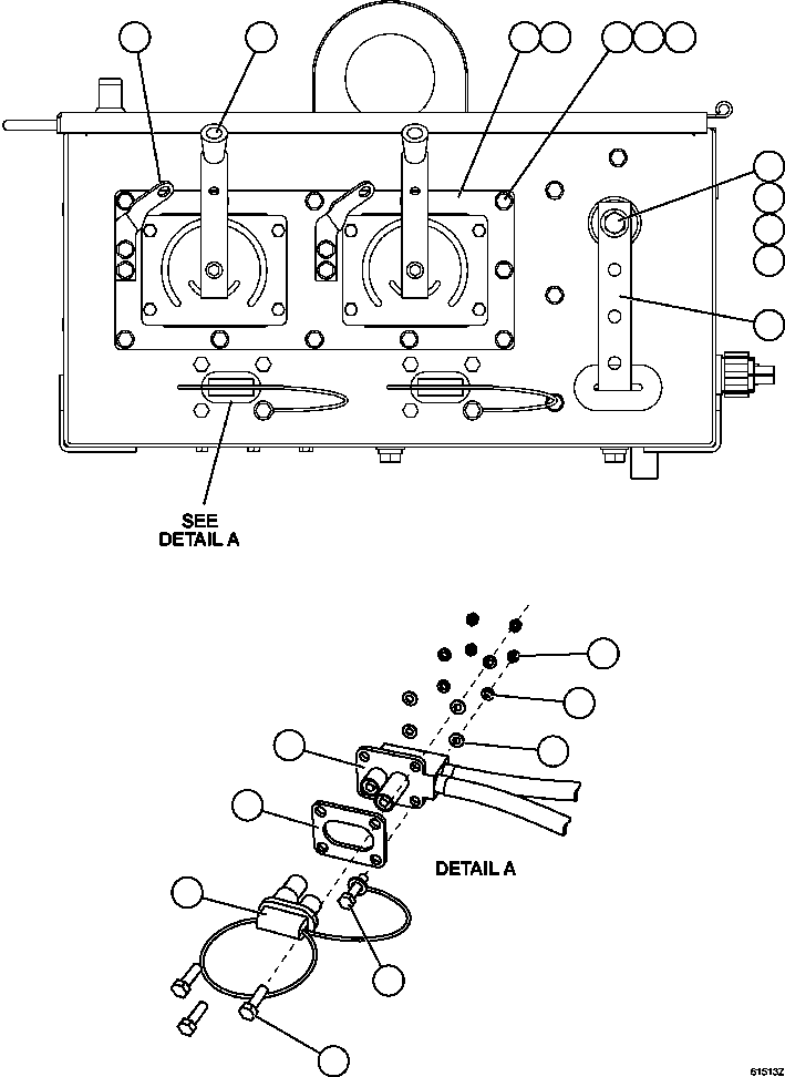
| ? | EC1725 | SWITCH, BATTERY DISCONNECT | 2 | ||||
| ? | EK9945 | PLATE, BENT | 2 | ||||
| ? | EL3998 | PLATE | 1 | ||||
| ? | EL3997 | GASKET | 1 | ||||
| ? | EL3820 | BUS BAR | 1 | ||||
| ? | PC0291 | INSULATOR | 2 | ||||
| ? | TR5445 | LOCKWASHER - 1/2" | 2 | ||||
| ? | TR6008 | FLAT WASHER - 1/2" | 2 | ||||
| ? | VC1387 | CAPSCREW - 1/2" - 13NC X 1" | 2 | ||||
| ? | MM0177 | NUT - M8 X 1.25 | 8 | ||||
| ? | MM0470 | LOCKWASHER - M8 | 23 | ||||
| ? | MM0460 | FLAT WASHER - M8 | 23 | ||||
| ? | PB9112 | RECEPTACLE ASSEMBLY | 2 | ||||
| ? | EJ7781 | GASKET | 2 | ||||
| ? | PB5993 | COVER ASSEMBLY | 2 | ||||
| ? | MM0594 | CAPSCREW - M8 X 1.25 X 25 | 15 | ||||
| ? | MM0596 | CAPSCREW - M8 X 1.25 X 35 | 8 |