k-part
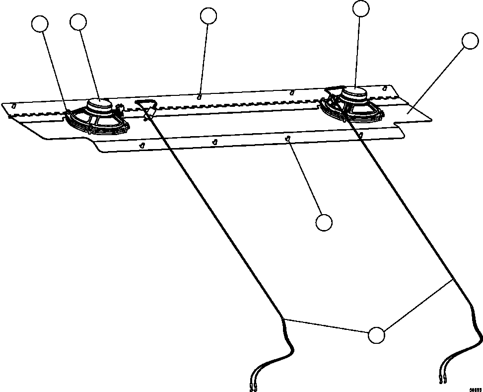
Номер на схеме Каталожный номер Название Количество Детали
? WA2858 LOCKNUT - #10 - 24NC 8
? PC0724 SPEAKER ASSEMBLY 2
? 31127R1 CAPSCREW - M6 X 1.00 X 12 5
? EL2692 PANEL 1
? PB8658 SCREW - M6 X 1.00 X 30 4
? EL2946 HARNESS, SPEAKER 2

Dump Trucks Komatsu / AFE62-AE 930E-4SE S/N A31245 - A31247, A31250 & A31252    SIERRA GORDA(AFE62-AE) / REAR SPEAKER INSTALLATION(198 : 50665)
?
?
?
?
?
?
?