k-part
Номер на схеме Каталожный номер Название Количество Детали
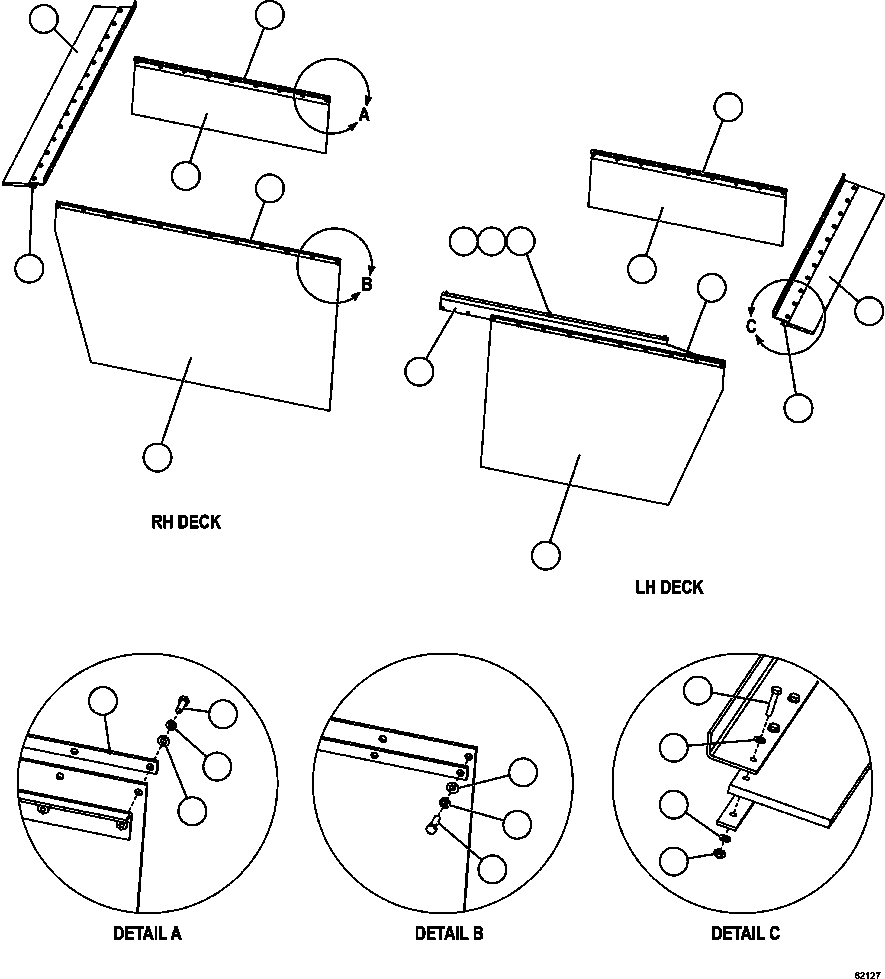
? XC1607 BRACKET, MUD FLAP 1
? XB5489 MUD FLAP 2
? EF6613 BAR, FLAT 2
? MM0606 CAPSCREW - M10 X 1.50 X 30 21
? MM0471 LOCKWASHER - M10 43
? MM0461 FLAT WASHER - M10 93
? MM0607 CAPSCREW - M10 X 1.50 X 35 22
? EF4813 BRACKET 1
? EF6605 BAR, FLAT 1
? XB5484 MUD FLAP 1
? EJ5709 MUD FLAP 1
? EJ5710 RETAINER 1
? EK2602 BAR, FLAT 1
? XB5487 MUD FLAP 1
? XB5551 MUD FLAP 1
? XB5552 RETAINER 1
? MM0067 CAPSCREW - M10 X 1.50 X 50 25
? MM0693 LOCKNUT - M10 X 1.50 25
? XC1606 BRACKET, MUD FLAP 1

Dump Trucks Komatsu / AFE62-AT 930E-4SE S/N A31636, A31638, A31640, A31642, A31663 & A31670  SIERRA GORDA(AFE62-AT) / DECK MUD FLAPS INSTALLATION(040 : 62127)
?
?
?
?
?
?
?
?
?
?
?
?
?
?
?
?
?
?
?
?
?
?
?
?
?
?
?