| Наименование | Страница | Код страницы |
|---|---|---|
| FUEL COOLER ASSEMBLY 58B-03-00120 | 306 | 60817 |
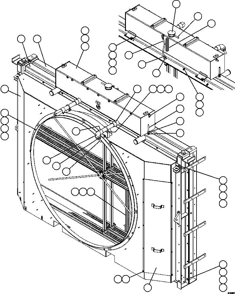
| LOW & HIGH TEMPERATURE CORES | 050 | 62096 |
| LOW & HIGH TEMPERATURE CORES | 050 | 62096 |
| Номер на схеме | Каталожный номер | Название | Количество | Детали | |||
|---|---|---|---|---|---|---|---|
| ? | 58B-03-00100 | RADIATOR, JACKET WATER (SEE FIG 62096) | 1 | 62096 | |||
| ? | 58B-03-00110 | RADIATOR, AFTERCOOLER (SEE FIG 62096) | 1 | 62096 | |||
| ? | 58B-03-00140 | TANK, SURGE | 1 | ||||
| ? | 58B-03-00120 | FUEL COOLER ASSEMBLY (SEE INDEX) | 1 | 60817 | |||
| ? | 58B-03-00130 | SHROUD, FAN | 1 | ||||
| ? | XA2710 | FAN RING | 1 | ||||
| ? | XA2711 | DOOR, ACCESS | 1 | ||||
| ? | 58B-03-00150 | NIPPLE | 2 | ||||
| ? | BF4949 | COUPLING, PIPE | 2 | ||||
| ? | BF4201 | U-BOLT ASSEMBLY | 2 | ||||
| ? | VE8559 | LOCKWASHER - 3/8" | 26 | ||||
| ? | C1521 | NUT - 3/8" - 16NC | 30 | ||||
| ? | VE4441 | ELBOW | 2 | ||||
| ? | VE8326 | BUSHING, REDUCER | 2 | ||||
| ? | BF4464 | FITTING, NIPPLE | 2 | ||||
| ? | BF4463 | ADAPTER | 2 | ||||
| ? | BF4462 | SWIVEL | 6 | ||||
| ? | BF5073 | HOSE | 3 | ||||
| ? | BF4461 | ELBOW | 4 | ||||
| ? | 58B-03-00190 | WASHER - 3/8" | 5 | ||||
| ? | 58B-03-00160 | SIGHT GAUGE ASSEMBLY | 1 | ||||
| ? | VE1474 | CAP - 14 PSI | 1 | ||||
| ? | XA4164 | HOSE, OVERFLOW | 1 | ||||
| ? | VE1223 | CLIP | 7 | ||||
| ? | VE3460 | CAPSCREW - 1/2" - 13NC X 1" | 14 | ||||
| ? | C1547 | FLAT WASHER - 3/8" | 48 | ||||
| ? | C1602 | CAPSCREW - 3/8" - 16NC X 1" | 49 | ||||
| ? | VE4440 | WASHER | 24 | ||||
| ? | C1613 | CAPSCREW - 1/2" - 13NC X 1 1/4" | 20 | ||||
| ? | C1540 | LOCKWASHER - 1/2" | 30 | ||||
| ? | VE3461 | NUT - 1/2" - 13NC | 21 |