k-part
Номер на схеме Каталожный номер Название Количество Детали
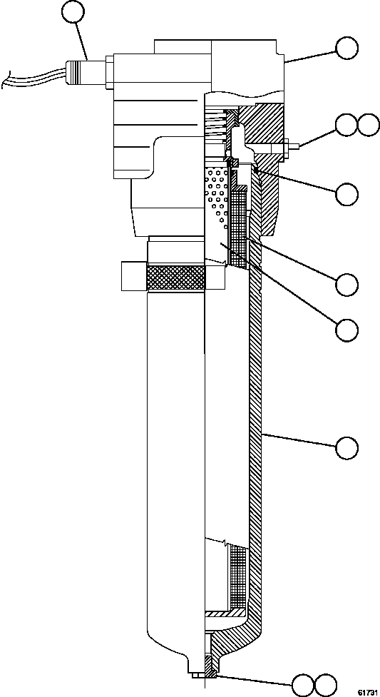
? PB6770 COUPLING, MALE QUICK DISCONNECT 1
? XA5166 PRESSURE SWITCH ASSEMBLY 1
? PC2898 HYDRAULIC FILTER ASSEMBLY 1
? BF4490 • HEAD, FILTER 1
? TF5194 • O-RING 1
? WA0100 • O-RING 1
? AK3572 • ELEMENT, FILTER 1
? BF4491 • CORE 1
? BF2213 • BOWL 1
? VE4463 • PLUG, DRAIN 1
? TL3995 • O-RING 1

Dump Trucks Komatsu / AFE62-AV 930E-4SE S/N A31717, A31719, A31721 - A31722, A31739, A31741 & A31743  COLLAHUASI(AFE62-AV) / HYDRAULIC FILTER - STEERING      XB3938(460 : 61731)
?
?
?
?
?
?
?
?
?
?