k-part
Наименование Страница Код страницы
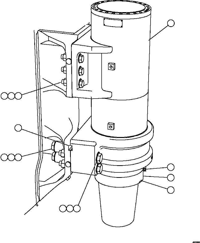
FRONT SUSPENSION ASSEMBLY 58F-50-00110 106 61926

Номер на схеме Каталожный номер Название Количество Детали
? 58F-50-00110 FRONT SUSPENSION ASSEMBLY (SEE INDEX) 1 61926
? VN9193 CAPSCREW - 1 1/2" - 6NC X 6 1/2" (1) 6
? WA0368 FLAT WASHER - 1 1/2" (HARDENED) (1) 12
? WA0404 NUT - 1 1/2" - 6NC (1) 6
? WA0370 FLAT WASHER - 1 3/4" (HARDENED) (1) 12
? EL5422 CAPSCREW - 1 3/4" - 5NC X 14 1/2" (1) 8
? WA0405 NUT - 1 3/4" - 5NC (1) 4
? EL7295 SPACER (1) 4
? ED7916 KEY, SHEAR (1) 1
? EF3373 BOOT (1) 1
? WA1094 CLAMP, T-BOLT (1) 2
? EF3374 WIRE, BOOT (1) 1
? NOTE: NS = NOT SHOWN
? WA3925 DECAL, HYDRAIR II 1
? AK9445 NOTE: (1) INCLUDED IN AK9445 FRONT WHEEL GROUP HARDWARE KIT.
? (QUANTITIES SHOWN ARE FOR ONE SIDE ONLY.)

Dump Trucks Komatsu / AFE62-BG 930E-4SE S/N A31828 - A31831, A31835 - A31837, A31840, A31844 - A31846 & A31850 - A31854  SIERRA GORDA(AFE62-BG) / FRONT SUSPENSION & MOUNTING(104 : 42363)
?
?
?
?
?
?
?
?
?
?
?
?
?
?