k-part
Номер на схеме Каталожный номер Название Количество Детали
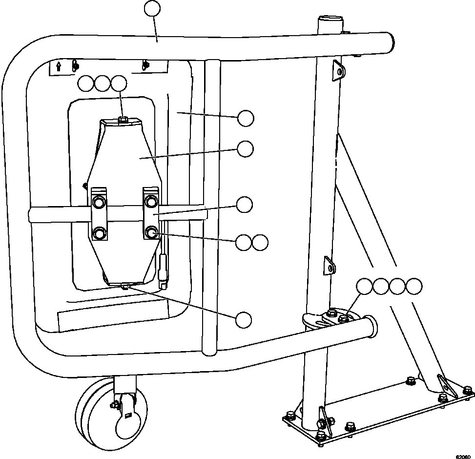
? EM9031 MOUNT, MIRROR 1
? PC2930 MIRROR 1
? XA5483 KIT, HEATED MIRROR GLASS REPAIR 1
? XA5484 KIT, TOP MIRROR CAP REPAIR 1
? XA5485 KIT, HEATED MIRROR CASE REPAIR 1
? XA5486 KIT, BALL STUD ASSEMBLY REPAIR 1
? XA5487 KIT, ELECTRIC WIRING REPAIR 1
? XB5568 MOUNT, MIRROR 1
? MM0621 CAPSCREW - M12 X 1.75 X 45 4
? MM0472 LOCKWASHER - M12 4
? MM0714 FLAT WASHER - M12 (HARDENED) 4
? MM0179 NUT - M12 X 1.75 4
? EM9038 CLAMP 2
? MM0623 CAPSCREW - M12 X 1.75 X 60 4
? MM0606 CAPSCREW - M10 X 1.50 X 30 2
? MM0713 FLAT WASHER - M10 4
? MM0693 LOCKNUT - M10 X 1.50 2
? 08193-21012 CLIP 1

Dump Trucks Komatsu / AFE62-BG 930E-4SE S/N A31828 - A31831, A31835 - A31837, A31840, A31844 - A31846 & A31850 - A31854  SIERRA GORDA(AFE62-BG) / RH MIRROR INSTALLATION(030 : 62060)
?
?
?
?
?
?
?
?
?
?
?
?
?
?