k-part
Наименование Страница Код страницы
FUEL COOLER ASSEMBLY 58B-03-00120 320 60817
LOW & HIGH TEMPERATURE CORES 054 62096
LOW & HIGH TEMPERATURE CORES 054 62096

Номер на схеме Каталожный номер Название Количество Детали
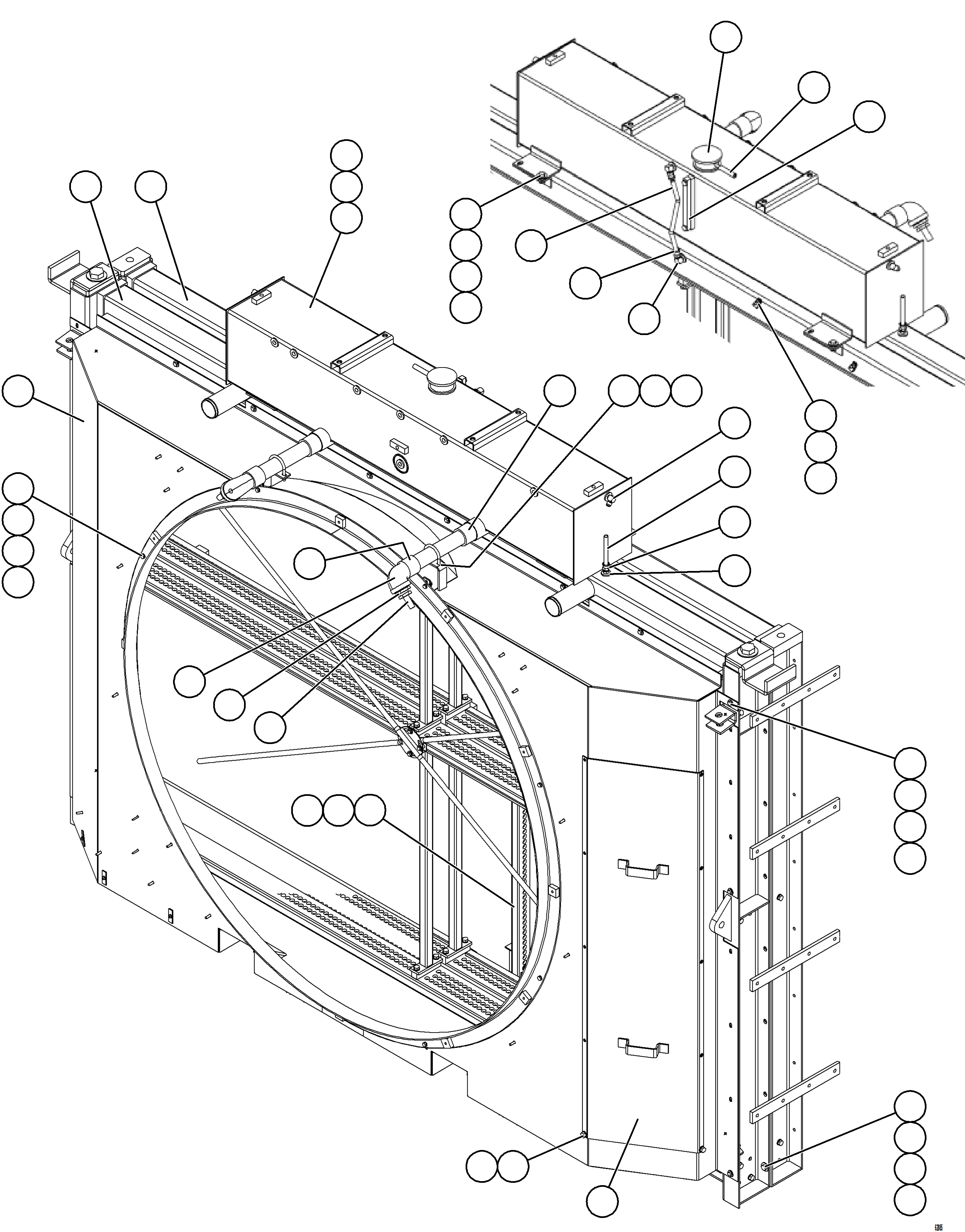
? 58B-03-00100 RADIATOR, JACKET WATER (SEE FIG 62096) 1 62096
? 58B-03-00110 RADIATOR, AFTERCOOLER (SEE FIG 62096) 1 62096
? 58B-03-00140 TANK, SURGE 1
? 58B-03-00120 FUEL COOLER ASSEMBLY (SEE INDEX) 1 60817
? 58B-03-20200 SHROUD, FAN 1
? XA2710 FAN RING 1
? XA2711 DOOR, ACCESS 1
? 58B-03-00150 NIPPLE 2
? BF4949 COUPLING, PIPE 2
? BF4201 U-BOLT ASSEMBLY 2
? VE8559 LOCKWASHER - 3/8" 26
? C1521 NUT - 3/8" - 16NC 30
? VE4441 ELBOW 2
? VE8326 BUSHING, REDUCER 2
? BF4464 FITTING, NIPPLE 2
? BF4463 ADAPTER 2
? BF4462 SWIVEL 6
? BF5073 HOSE 3
? BF4461 ELBOW 4
? 58B-03-00190 WASHER - 3/8" 5
? 58B-03-00160 SIGHT GAUGE ASSEMBLY 1
? VE1474 CAP - 14 PSI 1
? XA4164 HOSE, OVERFLOW 1
? VE1223 CLIP 7
? VE3460 CAPSCREW - 1/2" - 13NC X 1" 14
? C1547 FLAT WASHER - 3/8" 48
? C1602 CAPSCREW - 3/8" - 16NC X 1" 49
? VE4440 WASHER 24
? C1613 CAPSCREW - 1/2" - 13NC X 1 1/4" 20
? C1540 LOCKWASHER - 1/2" 30
? VE3461 NUT - 1/2" - 13NC 21

Dump Trucks Komatsu / AFE62-BL 930E-4SE S/N A31937, A31939, A31947, A31949 & A31952 - A31953  LAS BAMBAS(AFE62-BL) / RADIATOR & SHROUD ASSEMBLY(052 : 62085)
?
?
?
?
?
?
?
?
?
?
?
?
?
?
?
?
?
?
?
?
?
?
?
?
?
?
?
?
?
?
?
?
?
?
?
?
?
?
?
?
?
?
?
?
?
?
?
?
?