k-part
Номер на схеме Каталожный номер Название Количество Детали
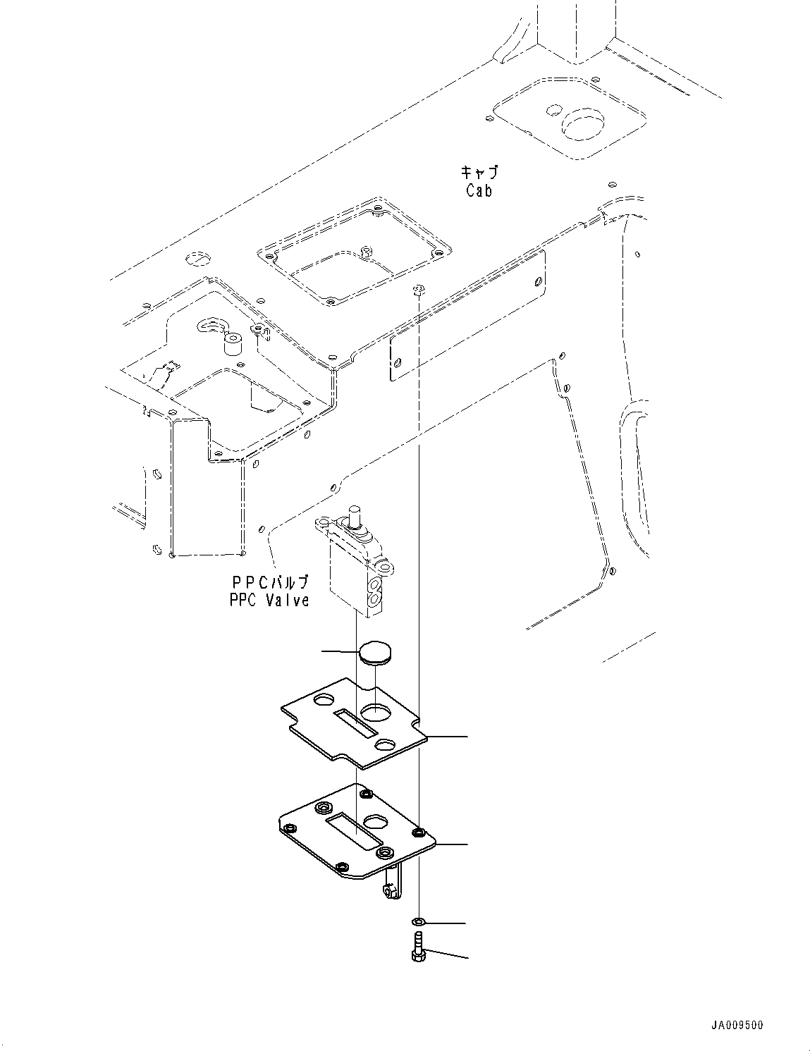
? 13Y-960-1030 Bracket 1
SN: 30001-
KIT-FLAG: _-
SCC:
SERIALNO: 30001-
? 13Y-960-1020 • Sheet 1
SN: 30001-
KIT-FLAG: _-
SCC:
SERIALNO: 30001-
? 09415-02512 Cap 1
SN: 30001-
KIT-FLAG: _-
SCC:
SERIALNO: 30001-
? 01010-80825 Bolt 4
SN: 30001-
KIT-FLAG: _-
SCC:
SERIALNO: 30001-
? 01643-30823 Washer 4
SN: 30001-
KIT-FLAG: _-
SCC:
SERIALNO: 30001-

Bulldozers Komatsu / D61PX-23 S/N 30001-UP(0000655C) / Rear Work Equipment Control, Bracket (#30001-)(K026001 : K2520-001001)
?
?
?
?
?