| Номер на схеме | Каталожный номер | Название | Количество | Детали | |||
|---|---|---|---|---|---|---|---|
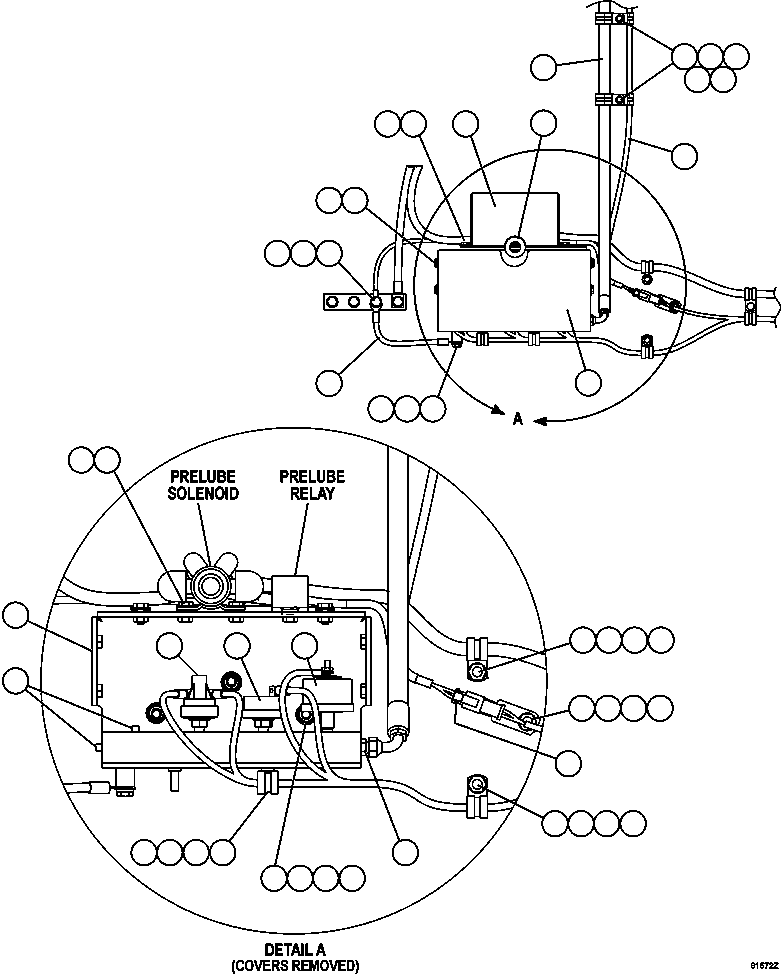
| ? | EJ5625 | COVER | 1 | ||||
| ? | EJ5624 | COVER | 1 | ||||
| ? | TD1548 | CAPSCREW - 1/4" - 20NC X 5/8" | 11 | ||||
| ? | C1546 | FLAT WASHER - 1/4" | 11 | ||||
| ? | MM0036 | CAPSCREW - M10 X 1.50 X 20 | 2 | ||||
| ? | MM0471 | LOCKWASHER - M10 | 6 | ||||
| ? | MM0461 | FLAT WASHER - M10 | 6 | ||||
| ? | CH4168 | CABLE, GROUND - BLACK | 1 | ||||
| ? | TC1234 | CAPSCREW - 3/8" - 16NC X 3/4" | 1 | ||||
| ? | TC1231 | LOCKWASHER - 3/8" | 1 | ||||
| ? | TR4436 | FLAT WASHER - 3/8" | 1 | ||||
| ? | MM0178 | NUT - M10 X 1.50 | 6 | ||||
| ? | EM1398 | SPACER | 2 | ||||
| ? | WB3093 | CLAMP, CUSHIONED - 1" | 2 | ||||
| ? | WB1301 | CLAMP, CUSHIONED - 1/4" | 2 | ||||
| ? | EM3100 | HARNESS, PRELUBE | 1 | ||||
| ? | HA3671 | HOSE | 1 | ||||
| ? | SL6447 | GROMMET | 1 | ||||
| ? | WB1304 | CLAMP, CUSHIONED - 9/16" | 3 | ||||
| ? | 08193-21012 | CLIP | 1 | ||||
| ? | WB0455 | FITTING, STRAIGHT | 1 | ||||
| ? | PC1000 | MOUNT, RUBBER | 3 | ||||
| ? | C0212 | LOCKWASHER - 3/8" | 3 | ||||
| ? | WA0720 | FLAT WASHER - 3/8" (HARDENED) | 3 | ||||
| ? | C1521 | NUT - 3/8" - 16NC | 3 | ||||
| ? | C5768 | PLUG, PIPE | 2 | ||||
| ? | EM3810 | BRACKET | 1 | ||||
| ? | SG3290 | SWITCH, ENGINE OIL PRESSURE | 1 | ||||
| ? | VZ0589 | SWITCH, ENGINE OIL PRESSURE | 1 | ||||
| ? | 677161R94 | SENDER, ENGINE OIL PRESSURE | 1 |