k-part
Номер на схеме Каталожный номер Название Количество Детали
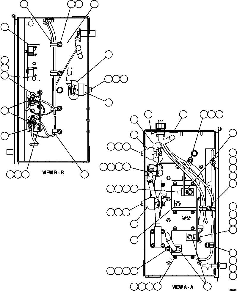
? PC1903 RELAY - 28 VDC 2
? EL6406 BRACKET 1
? MM0581 CAPSCREW - M6 X 1.00 X 16 4
? MM0469 LOCKWASHER - M6 4
? MM0459 FLAT WASHER - M6 4
? EK7517 BRACKET 1
? MM0593 CAPSCREW - M8 X 1.25 X 20 5
? MM0470 LOCKWASHER - M8 5
? MM0460 FLAT WASHER - M8 5
? WB3097 CLAMP, CUSHIONED - 1/2" 1
? WA2859 GROMMET 2
? MM0178 NUT - M10 X 1.50 8
? MM0461 FLAT WASHER - M10 8
? WB1303 CLAMP, CUSHIONED - 3/4" 8
? WB3091 CLAMP, CUSHIONED - 11/16" 4
? VZ2686 STAND-OFF, INSULATED 2
? VC1387 CAPSCREW - 1/2" - 13NC X 1" 4
? TR5445 LOCKWASHER - 1/2" 4
? TR6008 FLAT WASHER - 1/2" 4
? TY8375 SPACER 3
? WB1302 CLAMP, CUSHIONED - 5/16" 3
? PC0291 INSULATOR 1
? EM2053 BUS BAR 1
? TC1231 LOCKWASHER - 3/8" 3
? TC1233 NUT - 3/8" - 16NC 3
? TD0791 CAPSCREW - 3/8" - 16NC X 1 1/4" 3
? TR4436 FLAT WASHER - 3/8" 6
? EH7492 BUS BAR 2
? DC3584 LOCKWASHER - 1/4" 10
? TD1549 NUT - 1/4" - 20NC 10
? TR1306 CAPSCREW - 1/4" - 20NC X 1" 8
? SP8417 FLAT WASHER - 1/4" 10
? TV3555 PLUG, BUTTON - 1 3/8" 1
? VZ1369 LOCKNUT, CONDULET - 1" 1

Dump Trucks Komatsu / AFE59-DB 930E-4 S/N A31007 - A31010     JWANENG(AFE59-DB) / BATTERY BOX    5/5(310 : 61919)
?
?
?
?
?
?
?
?
?
?
?
?
?
?
?
?
?
?
?
?
?
?
?
?
?
?
?
?
?
?
?
?
?
?
?
?
?
?
?
?
?
?
?
?
?
?
?
?
?
?
?
?
?
?
?
?
?
?
?
?
?
?
?
?
?