k-part
Номер на схеме Каталожный номер Название Количество Детали
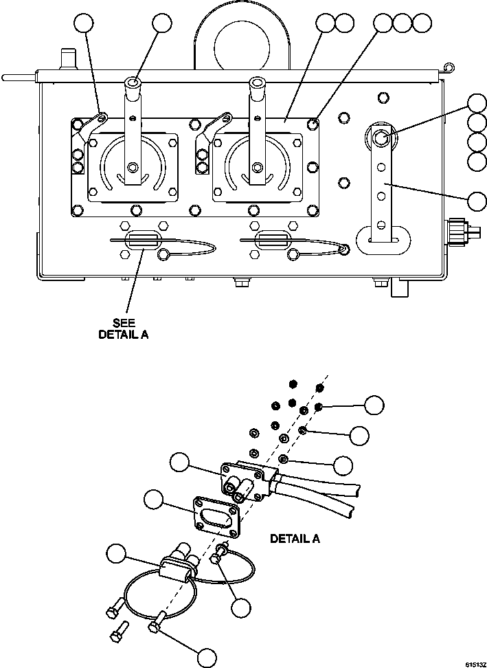
? EC1725 SWITCH, BATTERY DISCONNECT 2
? EK9945 PLATE, BENT 2
? EL3998 PLATE 1
? EL3997 GASKET 1
? EL3820 BUS BAR 1
? PC0291 INSULATOR 2
? TR5445 LOCKWASHER - 1/2" 2
? TR6008 FLAT WASHER - 1/2" 2
? VC1387 CAPSCREW - 1/2" - 13NC X 1" 2
? MM0177 NUT - M8 X 1.25 8
? MM0470 LOCKWASHER - M8 23
? MM0460 FLAT WASHER - M8 23
? PB9112 RECEPTACLE ASSEMBLY 2
? EJ7781 GASKET 2
? PB5993 COVER ASSEMBLY 2
? MM0594 CAPSCREW - M8 X 1.25 X 25 15
? MM0596 CAPSCREW - M8 X 1.25 X 35 8

Dump Trucks Komatsu / AFE59-DB 930E-4 S/N A31007 - A31010     JWANENG(AFE59-DB) / BATTERY BOX    2/5(304 : 61513)
?
?
?
?
?
?
?
?
?
?
?
?
?
?
?
?
?
?
?
?