k-part
Номер на схеме Каталожный номер Название Количество Детали
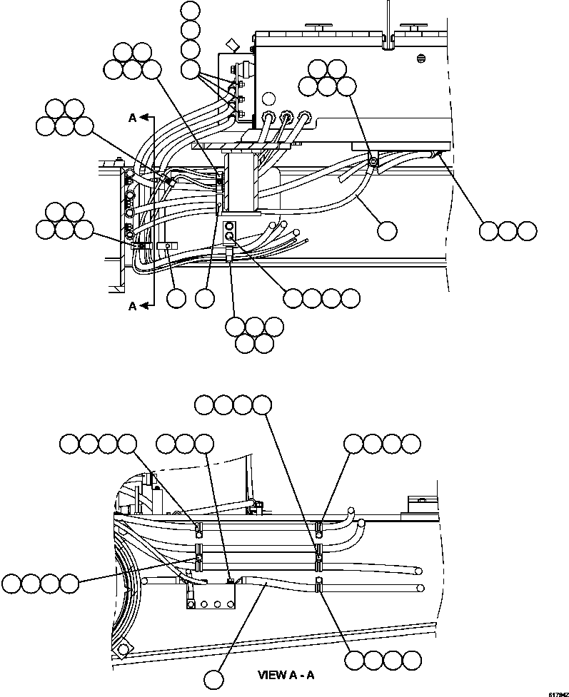
? MM0471 LOCKWASHER - M10
? MM0461 FLAT WASHER - M10
? MM0178 NUT - M10 X 1.50
? WB1303 CLAMP, CUSHIONED - 3/4" 3
? WB3092 CLAMP, CUSHIONED - 7/8" 4
? MM0605 CAPSCREW - M10 X 1.50 X 25 5
? CH4085 CABLE, GROUND - BATTERY BOX TO L.H. FRAME 1
? EH7492 BUS BAR 1
? VC6561 CAPSCREW - 1/2" - 13NC X 1 1/2" 1
? TR5445 LOCKWASHER - 1/2" 1
? TR6008 FLAT WASHER - 1/2" 1
? TR6643 NUT - 1/2" - 13NC 1
? EM0570 BRACKET 1
? MM0619 CAPSCREW - M12 X 1.75 X 35 2
? MM0462 FLAT WASHER - M12 4
? MM0179 NUT - M12 X 1.75 2
? EM3364 ROD, THREADED 3
? EJ3891 CLAMP ASSEMBLY 9
? EJ5576 CLAMP ASSEMBLY 2
? EL1939 ROD, THREADED 1
? SP7846 CLAMP, CUSHIONED - 5/16" 8
? MM0459 FLAT WASHER - M6 4
? MM0176 NUT - M6 X 1.00 4
? TD0791 CAPSCREW - 3/8" - 16NC X 1 1/4" 3
? TC1231 LOCKWASHER - 3/8" 3
? TR4436 FLAT WASHER - 3/8" 3
? TC1233 NUT - 3/8" - 16NC 3

Dump Trucks Komatsu / AFE59-DB 930E-4 S/N A31007 - A31010     JWANENG(AFE59-DB) / BATTERY BOX EXTERNAL WIRING(300 : 61794)
?
?
?
?
?
?
?
?
?
?
?
?
?
?
?
?
?
?
?
?
?
?
?
?
?
?
?
?
?
?
?
?
?
?
?
?
?
?
?
?
?
?
?
?
?
?
?
?
?
?
?
?
?
?
?
?
?
?
?
?
?
?
?