k-part
Наименование Страница Код страницы
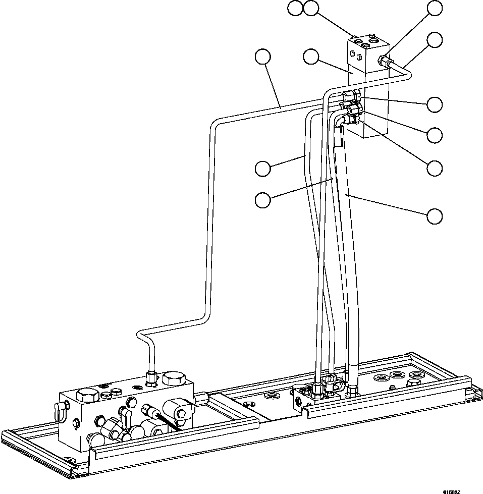
DUAL RELAY VALVE PC1531 504 61000

Номер на схеме Каталожный номер Название Количество Детали
? PC1531 DUAL RELAY VALVE (SEE INDEX) 1 61000
? SR6320 CAPSCREW - 1/2" - 13NC X 7/8" 2
? DD5640 FLAT WASHER - 1/2" 2
? WB1024 FITTING, STRAIGHT 1
? EG0603 TUBE 1
? WB0586 FITTING, STRAIGHT 1
? EG0601 TUBE 1
? WB0584 FITTING, STRAIGHT 2
? EG0605 TUBE 1
? EG0604 TUBE 1
? WB0585 FITTING, STRAIGHT 1
? HA7755 HOSE 1

Dump Trucks Komatsu / AFE59-ED 930E-4 S/N A31267, A31278, A31280, A31282, A31284 & A31292  FORTESCUE METALS GROUP(AFE59-ED) / DUAL RELAY VALVE PIPING(492 : 61562)
?
?
?
?
?
?
?
?
?
?
?
?