k-part
Номер на схеме Каталожный номер Название Количество Детали
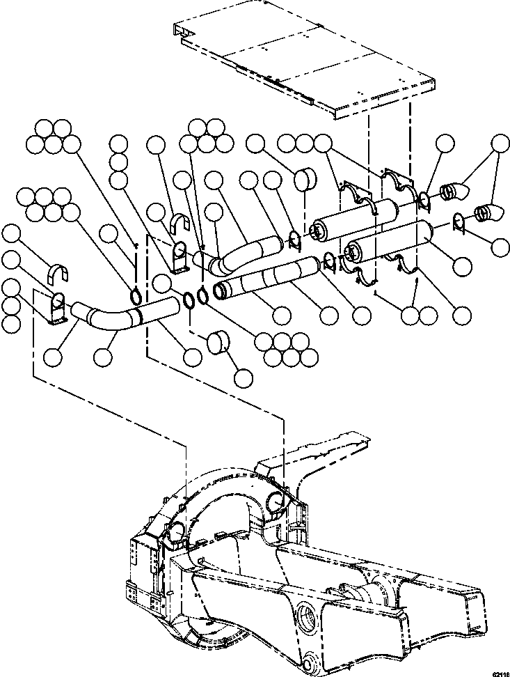
? EK5928 PLATE, BENT 2
? EK5930 MOUNT 2
? MM0042 CAPSCREW - M10 X 1.50 X 25 12
? MM0461 FLAT WASHER - M10 12
? TA6490 CLAMP ASSEMBLY 6
? TA6483 • CLAMP 6
? TA6491 • U-BOLT - 3/8" - 16NC 6
? C0312 • LOCKWASHER - 3/8" 12
? C1521 • NUT - 3/8" - 16NC 12
? EJ8755 TUBE 1
? XB8321 BLANKET, EXHAUST 1
? EJ9913 ROD, THREADED 1
? PC1247 ROD END, FEMALE 6
? VC4898 CAPSCREW - 1/2" - 13NC X 2 1/2" 6
? WA4728 FLAT WASHER - 1/2" (HARDENED) 12
? TL8151 JAM NUT - 1/2" - 20NF 6
? DF3500 LOCKNUT - 1/2" - 13NC 6
? EJ9909 CLAMP 3
? EK2340 ROD, THREADED 2
? XB8323 BLANKET, EXHAUST 1
? PB7997 CLAMP, V-BAND 1
? XB8325 BLANKET, EXHAUST 1
? XB8324 BLANKET, EXHAUST 1
? XB8322 BLANKET, EXHAUST 1
? EJ8760 TUBE 1
? XB8327 BLANKET, EXHAUST 1
? EJ8756 TUBE 1
? EH9967 MUFFLER 2
? EJ8380 HANGER 2
? MM0618 CAPSCREW - M12 X 1.75 X 30 6
? MM0694 LOCKNUT - M12 X 1.75 6
? EJ1952 CLAMP 4
? MM0624 CAPSCREW - M12 X 1.75 X 70 8
? MM0462 FLAT WASHER - M12 8
? EH9563 TUBE 2
? XB8326 BLANKET, EXHAUST 1
? XB7257 BLANKET, EXHAUST 2

Dump Trucks Komatsu / AFE59-EP 930E-4 S/N A31393, A31413, A31507, A31517 & A31521  ASARCO MISSION(AFE59-EP) / EXHAUST PIPING   2/2(092 : 62116)
?
?
?
?
?
?
?
?
?
?
?
?
?
?
?
?
?
?
?
?
?
?
?
?
?
?
?
?
?
?
?
?
?
?
?
?
?
?
?
?
?
?
?
?
?
?
?
?
?
?
?
?
?
?
?
?
?