| Номер на схеме | Каталожный номер | Название | Количество | Детали | |||
|---|---|---|---|---|---|---|---|
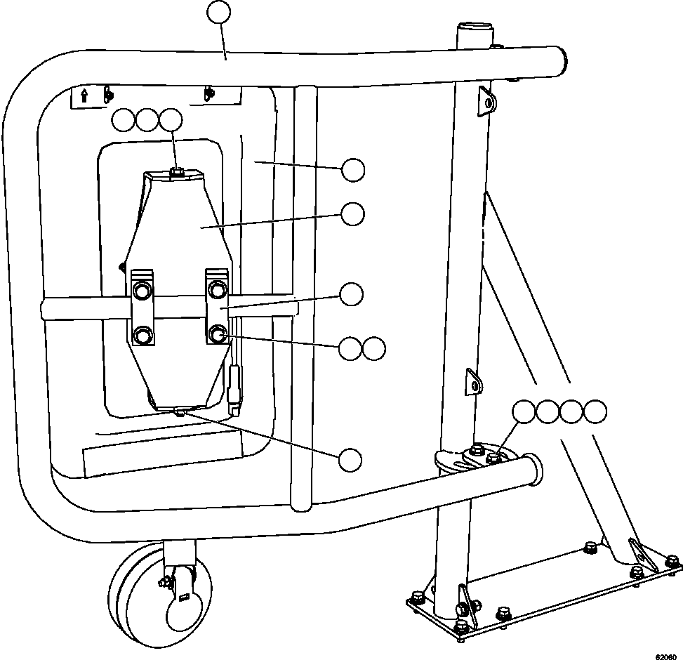
| ? | EM9031 | MOUNT, MIRROR | 1 | ||||
| ? | PC2930 | MIRROR | 1 | ||||
| ? | XA5483 | • KIT, HEATED MIRROR GLASS REPAIR | 1 | ||||
| ? | XA5484 | • KIT, TOP MIRROR CAP REPAIR | 1 | ||||
| ? | XA5485 | • KIT, HEATED MIRROR CASE REPAIR | 1 | ||||
| ? | XA5486 | • KIT, BALL STUD ASSEMBLY REPAIR | 1 | ||||
| ? | XA5487 | • KIT, ELECTRIC WIRING REPAIR | 1 | ||||
| ? | XB5568 | MOUNT, MIRROR | 1 | ||||
| ? | MM0621 | CAPSCREW - M12 X 1.75 X 45 | 4 | ||||
| ? | MM0472 | LOCKWASHER - M12 | 4 | ||||
| ? | MM0714 | FLAT WASHER - M12 | 4 | ||||
| ? | MM0179 | NUT - M12 X 1.75 | 4 | ||||
| ? | EM9038 | CLAMP | 2 | ||||
| ? | MM0623 | CAPSCREW - M12 X 1.75 X 60 | 4 | ||||
| ? | MM0606 | CAPSCREW - M10 X 1.50 X 30 | 2 | ||||
| ? | MM0713 | FLAT WASHER - M10 | 4 | ||||
| ? | MM0693 | LOCKNUT - M10 X 1.50 | 2 | ||||
| ? | 08193-21012 | CLIP | 1 |