| Номер на схеме | Каталожный номер | Название | Количество | Детали | |||
|---|---|---|---|---|---|---|---|
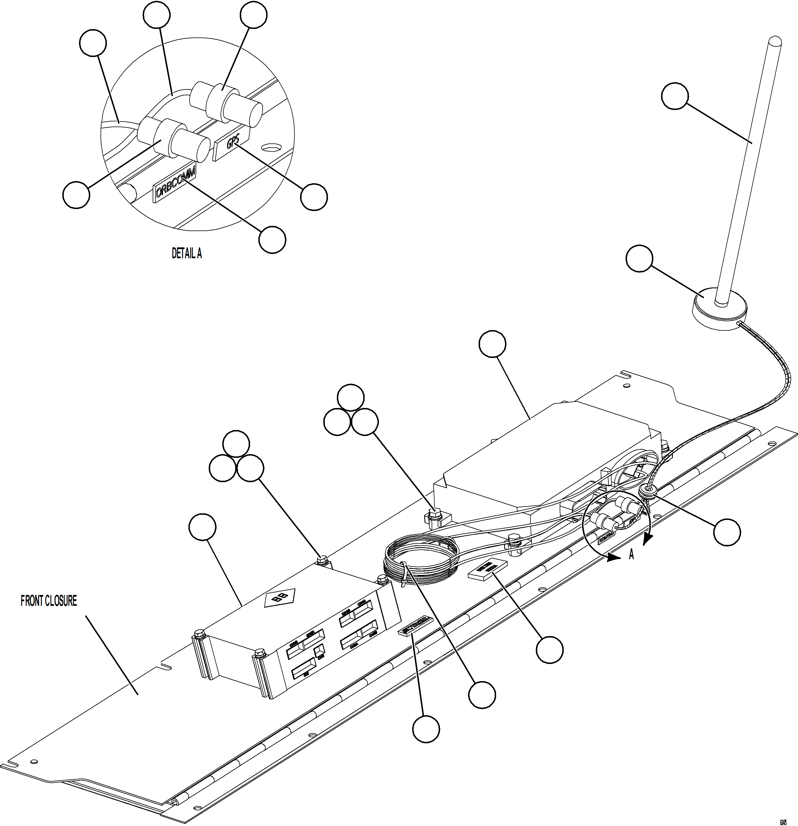
| ? | PC3134 | ANTENNA, GPS-ORBCOMM | 1 | ||||
| ? | PC3133 | BASE, ANTENNA | 1 | ||||
| ? | TD2186 | GROMMET, RUBBER | 1 | ||||
| ? | PC1701 | FITTING, BULKHEAD COAX | 2 | ||||
| ? | PC3137 | CABLE, MODEM | 1 | ||||
| ? | PC1962 | HARNESS, ORBCOMM | 1 | ||||
| ? | WB3899 | NAME PLATE - GPS | 1 | ||||
| ? | 58D-06-03100 | NAME PLATE - ORBCOMM | 1 | ||||
| ? | WB2879 | NAME PLATE - ORBCOMM MODEM | 1 | ||||
| ? | VZ0598 | TYRAP | 2 | ||||
| ? | WB2838 | NAME PLATE - VHMS COMMON CONTROLLER | 1 | ||||
| ? | 7826-12-2508 | CONTROLLER, ORBCOMM | 1 | ||||
| ? | MM0594 | CAPSCREW - M8 X 1.25 X 25 | 4 | ||||
| ? | MM0470 | LOCKWASHER - M8 | 8 | ||||
| ? | MM0460 | FLAT WASHER - M8 | 8 | ||||
| ? | MM0401 | CAPSCREW - M8 X 1.25 X 90 | 4 | ||||
| ? | 7826-14-8505 | CONTROLLER, KOMTRAX PLUS | 1 |