k-part
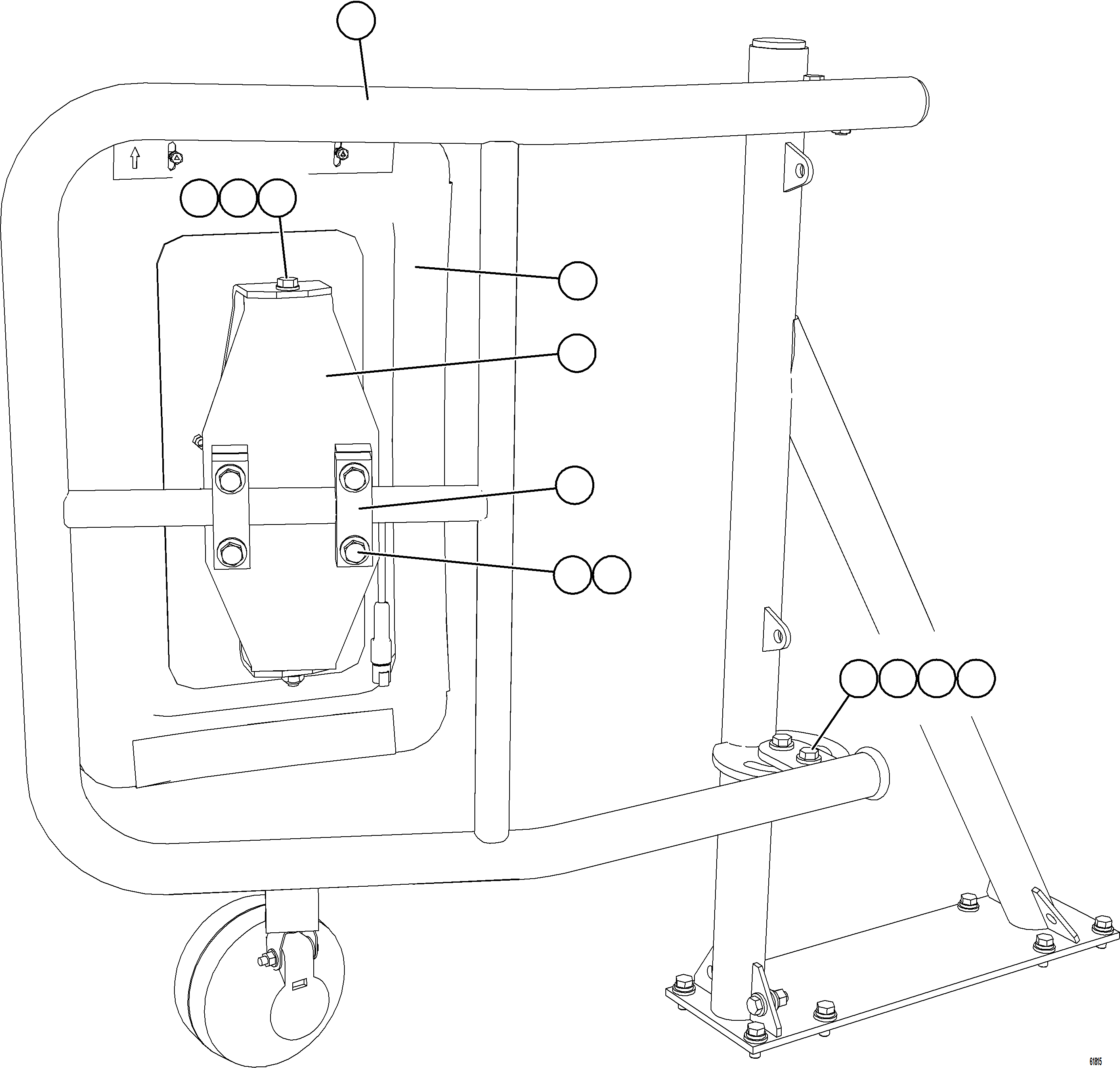
Номер на схеме Каталожный номер Название Количество Детали
? 58B-54-20450 MOUNT, MIRROR 1
? PC2930 MIRROR, HEATED 1
? XA5483 • REPAIR KIT, GLASS 1
? XA5484 • REPAIR KIT, TOP MIRROR CAP 1
? XA5485 • REPAIR KIT, HEATED MIRROR CASE 1
? XA5486 • REPAIR KIT, BALL STUD 1
? XA5487 • REPAIR KIT, WIRING REPAIR 1
? XB5568 MOUNT, MIRROR 1
? MM0621 CAPSCREW - M12 X 1.75 X 45 4
? MM0472 LOCKWASHER - M12 4
? MM0714 FLAT WASHER - M12 4
? MM0179 NUT - M12 X 1.75 4
? EM9038 CLAMP 2
? MM0623 CAPSCREW - M12 X 1.75 X 60 4
? MM0606 CAPSCREW - M10 X 1.50 X 30 2
? MM0713 FLAT WASHER - M10 4
? MM0693 LOCKNUT - M10 X 1.50 2

Dump Trucks Komatsu / AFE57-JD 830E-1AC S/N A41020 - A41024  DECKER COAL LIGHTHOUSE(AFE57-JD) / RH MIRROR INSTALLATION(058 : 61815)
?
?
?
?
?
?
?
?
?
?
?
?
?